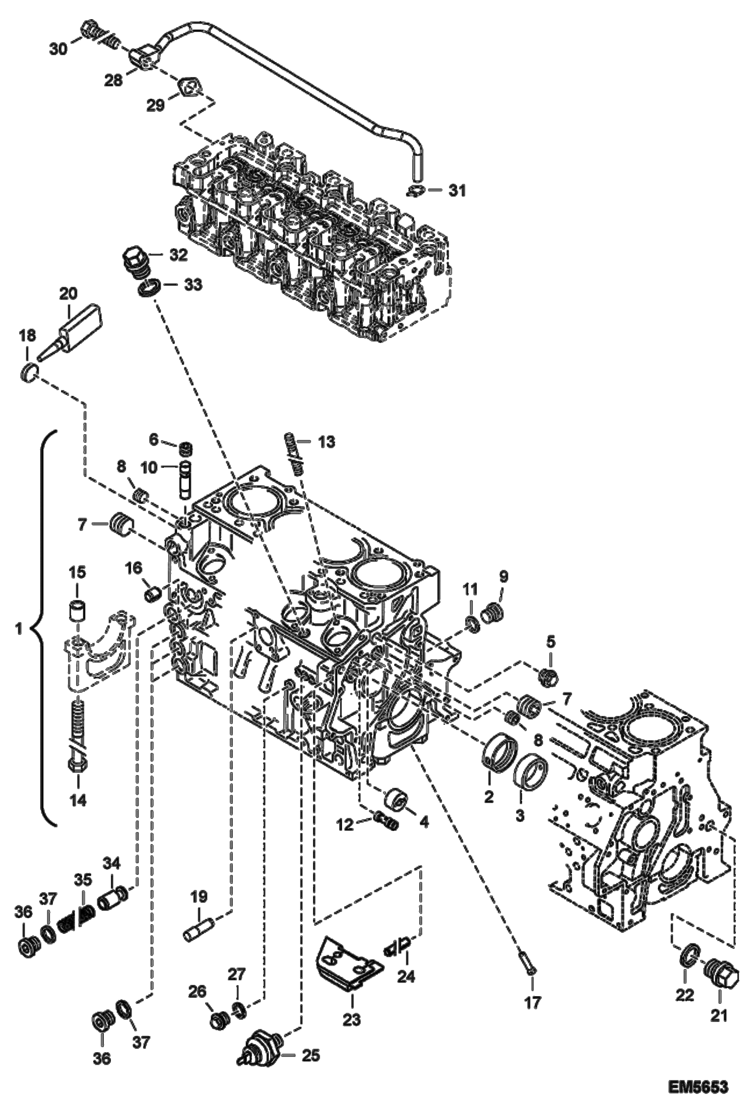
Запчасти Bobcat 442 CRANKCASE POWER UNIT

Схема запчастей Bobcat 442 - CRANKCASE POWER UNIT
FIT
1:1
100%

Артикул

Название

Примечание

Количество

1

7013459

BLOCK ENGINE W/Ref. 2-16

2

7013486

BUSHING WRAPPED BEAR.

3

6666737

BEARING Was 7013485 - A

4

7013558

SLEEVE GUIDE

5

7013491

PLUG SCREW

6

7013422

PLUG SCREW

7

7013512

PLUG SCREW

8

6672874

PLUG Was 7013404 - A

9

7013338

PLUG SCREW

10

7013556

TUBE

11

7013352

RING SEALING

12

7013555

PLUG

13

7013416

STUD

14

7013439

BOLT HEXAGON

15

7013451

BUSHING

16

7013392

BUSHING CLAMPING

17

7013567

NOZZLE PISTON COOL

18

7013374

COVER

19

6668905

PIN Was 7013499 - A

20

7013430

ADHESIVE

21

6672888

PLUG Was 7013365 - A

22

6666394

SEAL RING Was 7013354 - A

23

7013489

HOLDER RUBER

24

7013347

PIN STRAIGHT

25

7013420

SWITCH OIL PRESSUR. See Illustration ENGINE PARTS I/ EM1943

26

7013357

PLUG SCREW

27

6666394

SEAL RING Was 7013354 - A

28

7015316

PIPE BREATHER

29

5411664052

CYLINDER HEAD GASKET A1.47/B1.51

30

5411664050

BOLT

31

7015326

CLIP HOSE

32

7013339

PLUG SCREW

33

6666393

SEAL RING Was 7013351 - A

34

5411663889

VALVE, ENGINE See Illustration ENGINE PARTS I/ EM1943

35

5411664110

COMPRESSION SPRING

36

5411657549

PLUG See Illustration ENGINE PARTS I/ EM1943

37

5411664011

SEAL RING

Выбрано товаров: 37