Запчасти Bobcat 444 BACK HOOD MAIN FRAME

Схема запчастей Bobcat 444 - BACK HOOD MAIN FRAME
FIT
1:1
100%

Артикул

Название

Примечание

Количество

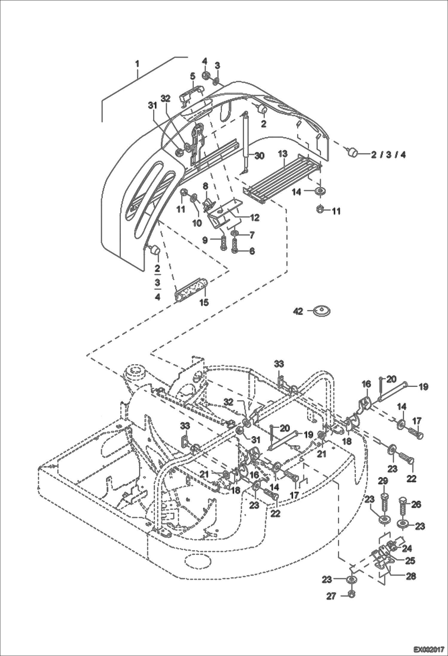
1

5529020096

BACK HOOD

2

5101290955

STOP

3

1307707014

WASHER

4

1212251009

NUT

5

5354604442

PLASTIC HANDLE

6

1008707712

BOLT

7

1290707014

WASHER

8

5354604335

HOOD LATCH

9

1008707018

BOLT

10

1290707018

WASHER

11

1212251011

NUT

12

6190028030

BRACKET

13

6207528090

GRID

14

1343707057

WASHER

15

7025098

SEAL, BULK/MTR - A

16

0190028029

HINGE

17

1008707318

BOLT

18

6190028028

HINGE

19

1360707139

PIN

20

1395707017

COTTER PIN

21

1290707018

WASHER

22

1008707018

BOLT

23

1343707057

WASHER

24

5354604338

COTTER

25

6176028067

FLAP

26

1008707618

BOLT

27

1212251011

NUT

28

6190028032

ANGLE PLATE

29

1008707318

BOLT

30

5696636600

GAS SPRING

31

1212251013

NUT

32

1290707020

WASHER

33

0187528017

THREADED PLATE

Выбрано товаров: 33