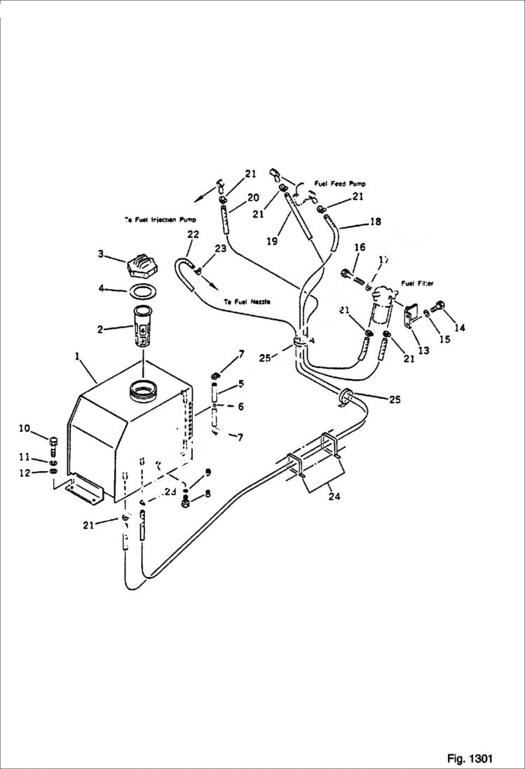
Запчасти Bobcat 56 FUEL TANK AND PIPING ENGINE RELATED PARTS AND ELECTRICAL SYSTEM

Схема запчастей Bobcat 56 - FUEL TANK AND PIPING ENGINE RELATED PARTS AND ELECTRICAL SYSTEM
FIT
1:1
100%

Артикул

Название

Примечание

Количество

1

TANK, FUEL Was 20M-04-48111

2

6637474

SCREEN

3

6637470

CAP

4

6637471

GASKET

5

TUBE Was 07270-01021

6

6638544

FLOAT

7

6637621

CLAMP

8

6637476

BOLT

9

6637408

O-RING

10

6636958

BOLT

11

6637134

WASHER

12

6637156

WASHER

13

6637927

BRACKET

14

6636966

BOLT

15

6637135

WASHER

16

6642009

BOLT

17

6637146

WASHER

18

6649144

HOSE

19

6637931

HOSE

20

6649143

HOSE

21

6637620

CLAMP

22

6649145

HOSE

23

6642115

CLAMP

24

6637683

BAND

25

6637682

BAND

Выбрано товаров: 25