Качественные детали и логистика
Оригинальные и аналоговые запчасти с доставкой по России, Казахстану и Беларуси
©2022 PartSell ООО "Система" ИНН 2463123282 ОГРН 1212400004838
Центральный офис: г. Красноярск, Академика Киренского, д.87, пом.4
Телефон: 8 (800) 777-65-74 Email: zakaz@partsell.ru
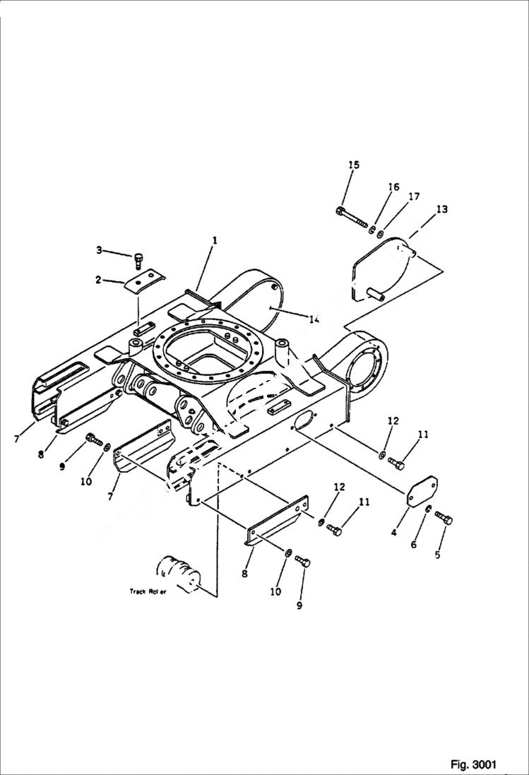
TRACK FRAME
№
Артикул
Название
Примечание
Количество
1
FRAME, TRACK Was 20M-30-48110
2
6637952
PLATE
3
6636965
BOLT
4
6638247
COVER
5
6636966
6
6637135
WASHER
7
6637970
GUARD
8
6637969
9
6636967
10
6637157
11
12
13
COVER, L.H. Was 20M-30-48120
14
COVER, R.H. Was 20M-30-48130
15
BOLT Was 01010-50880
16
6637134
17
6637156
Выбрано товаров: 0