Запчасти Bobcat 56 HYDRAULIC TANK WORK EQUIPMENT CONTROL SYSTEM

Схема запчастей Bobcat 56 - HYDRAULIC TANK WORK EQUIPMENT CONTROL SYSTEM
FIT
1:1
100%

Артикул

Название

Примечание

Количество

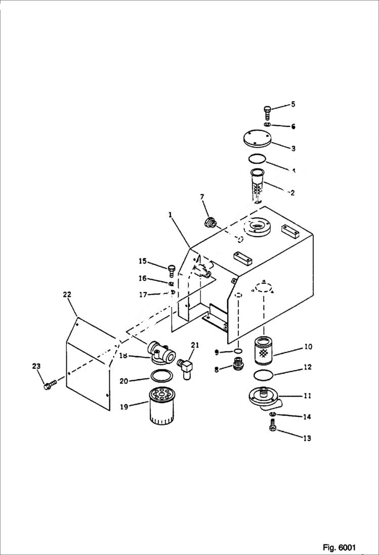
1

TANK, HYDRAULIC Was 20M-60-48111

2

6637473

SCREEN

3

FLANGE Was 20M-60-48120

4

6637344

O-RING

5

6636958

BOLT

6

6637134

WASHER

7

6638333

GAUGE, OIL

8

6637453

PLUG

9

6637411

O-RING

10

6638049

STRAINER

11

6638050

FLANGE

12

6637346

O-RING

13

6636958

BOLT

14

6637134

WASHER

15

6636958

BOLT

16

6637134

WASHER

17

6637156

WASHER

17

6638051

FILTER ASSEMBLY

18

6642328

HEAD

18

6638052

CARTRIDGE ass'y

19

6649834

HYD ELEME

20

6638053

PACKING

21

ELBOW Was 20M-60-31272

22

COVER Was 20M-60-48130

23

6637066

BOLT

Выбрано товаров: 25