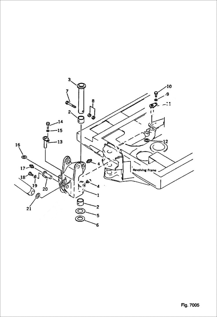
Запчасти Bobcat 76 SWING BRACKET WORK EQUIPMENT

Схема запчастей Bobcat 76 - SWING BRACKET WORK EQUIPMENT
FIT
1:1
100%

Артикул

Название

Примечание

Количество

1

6638507

BRACKET

2

6638500

BUSHING

3

6638508

PIN

4

6637432

FITTING

5

6638502

SHIM

6

6642719

SPACER

7

6637011

BOLT

8

6637110

NUT

9

6637158

WASHER

10

6636979

BOLT

11

6638509

PIN

12

6638487

SHIM

13

6638495

PIN

14

6636979

BOLT

15

6637158

WASHER

16

6638487

SHIM

17

6637430

FITTING

18

6636979

BOLT

19

6637158

WASHER

20

6638486

PIN

21

6638598

SPACER

Выбрано товаров: 21