Запчасти Bobcat E25 OPERATOR CAB (RH Window) (Slider) MAIN FRAME

Схема запчастей Bobcat E25 - OPERATOR CAB (RH Window) (Slider) MAIN FRAME
FIT
1:1
100%

Артикул

Название

Примечание

Количество

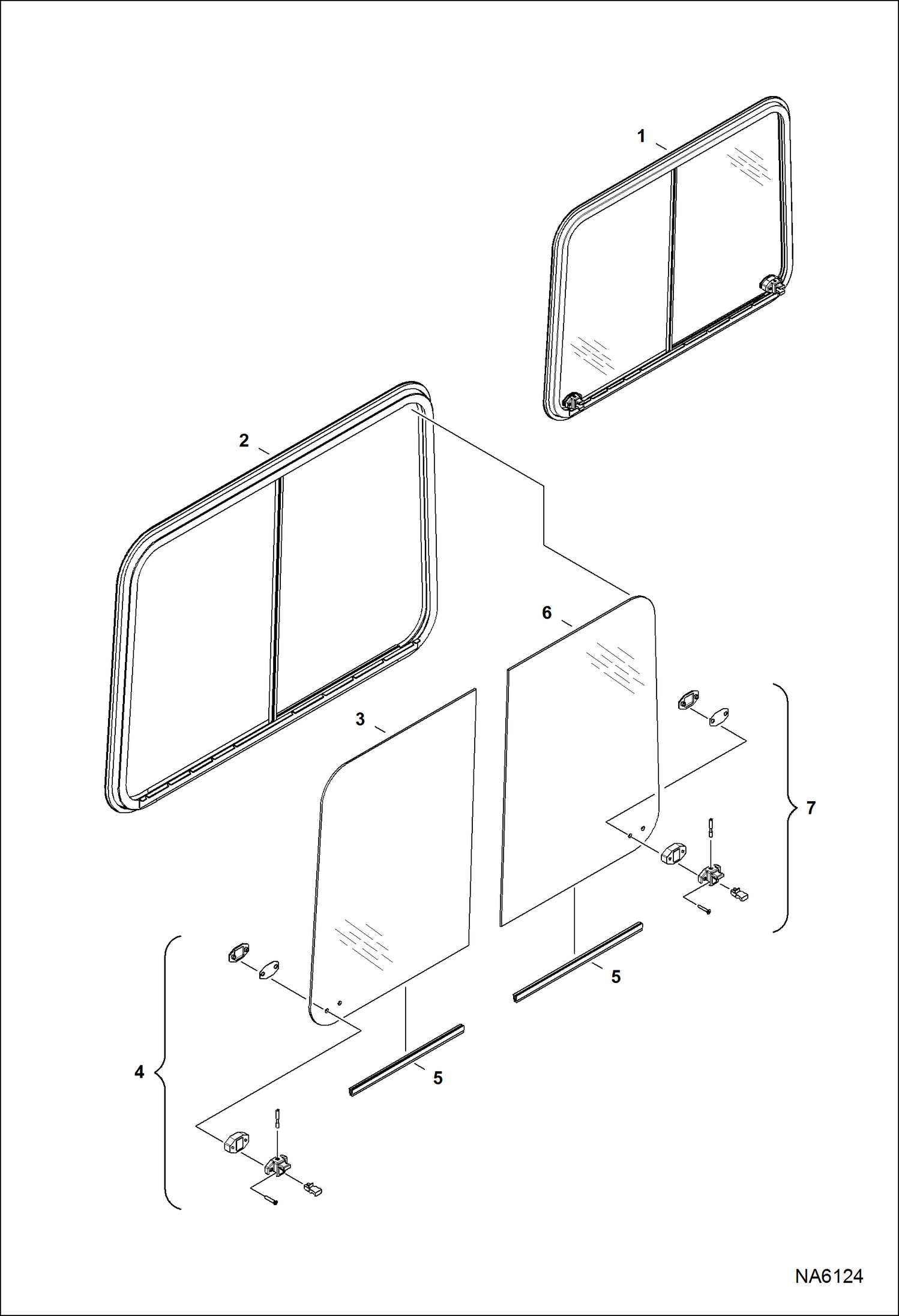
1

7187777

WINDOW, CAB SLIDING Ref. 2-7

2

FRAME, WINDOW NSS - Order Ref. 1

3

7022731

WINDOW, CAB SLIDING FRONT W/Ref. 4 & 5

4

HANDLE, WINDOW SIDE NSS

5

SEAL, WINDOW NSS

6

7022730

WINDOW, CAB SLIDING REAR W/Ref. 5 & 7

7

HANDLE, WINDOW SIDE NSS

Выбрано товаров: 7