Качественные детали и логистика
Оригинальные и аналоговые запчасти с доставкой по России, Казахстану и Беларуси
©2022 PartSell ООО "Система" ИНН 2463123282 ОГРН 1212400004838
Центральный офис: г. Красноярск, Академика Киренского, д.87, пом.4
Телефон: 8 (800) 777-65-74 Email: zakaz@partsell.ru
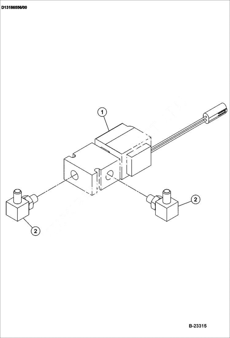
BRAKE VALVE ASSEMBLY
№
Артикул
Название
Примечание
Количество
1
IR13184197
Brake Valve
IR13247630
COIL
IR13247655
Assembly Cartridge & Coil
IR13247648
Seal Kit
2
IR95329975
Adapter
Выбрано товаров: 0