Качественные детали и логистика
Оригинальные и аналоговые запчасти с доставкой по России, Казахстану и Беларуси
©2022 PartSell ООО "Система" ИНН 2463123282 ОГРН 1212400004838
Центральный офис: г. Красноярск, Академика Киренского, д.87, пом.4
Телефон: 8 (800) 777-65-74 Email: zakaz@partsell.ru
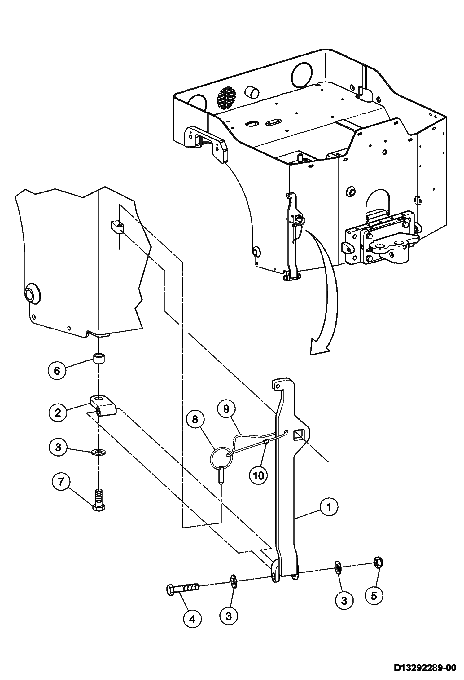
LOCKBAR ASSEMBLY OPTIONAL
№
Артикул
Название
Примечание
Количество
1
IR13236294
LOCKBAR
2
IR13236286
PIVOT lockbar
3
IR96714308
WASHER Was IR96741046 - A
4
IR96715552
BOLT
5
IR96712807
LOCKNUT Was IR96704614 - A
6
IR59214585
BUSHING
7
IR96702287
8
IR59214270
Hitch Pin
9
IR59436741
CABLE
10
IR59214775
SLEEVE cable
Выбрано товаров: 0