Запчасти Bobcat CT120 ROPS GROUP MAIN FRAME

Схема запчастей Bobcat CT120 - ROPS GROUP MAIN FRAME
FIT
1:1
100%

Артикул

Название

Примечание

Количество

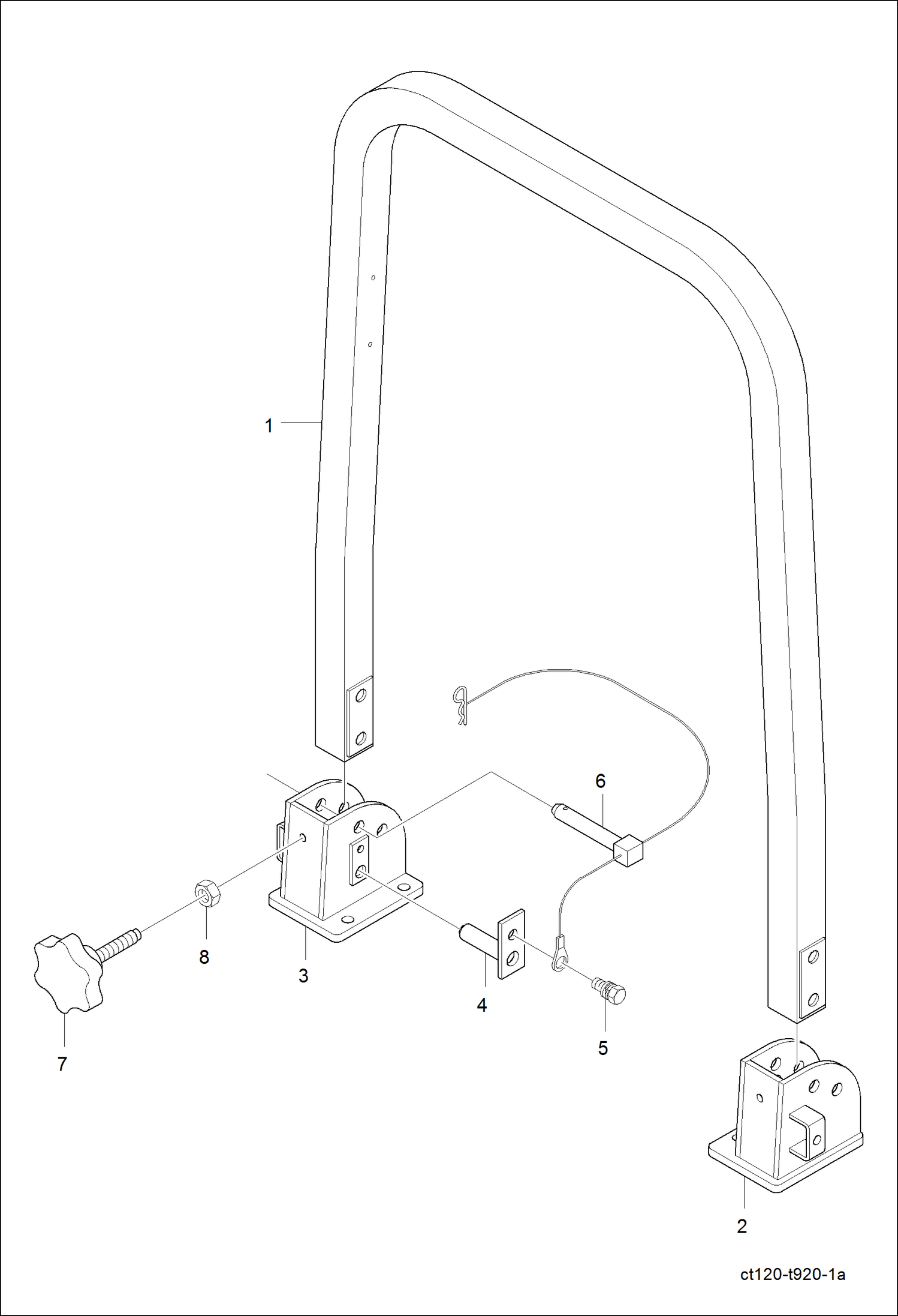
1

6697984

ROPS

2

6697685

SUPPORT, LH

3

6697686

SUPPORT, RH

4

6697487

PIN SET ROPS

5

6693979

BOLT

6

6697488

PIN SET ROPS

7

6694840

BOLT

8

6694043

NUT

Выбрано товаров: 8