Качественные детали и логистика
Оригинальные и аналоговые запчасти с доставкой по России, Казахстану и Беларуси
©2022 PartSell ООО "Система" ИНН 2463123282 ОГРН 1212400004838
Центральный офис: г. Красноярск, Академика Киренского, д.87, пом.4
Телефон: 8 (800) 777-65-74 Email: zakaz@partsell.ru
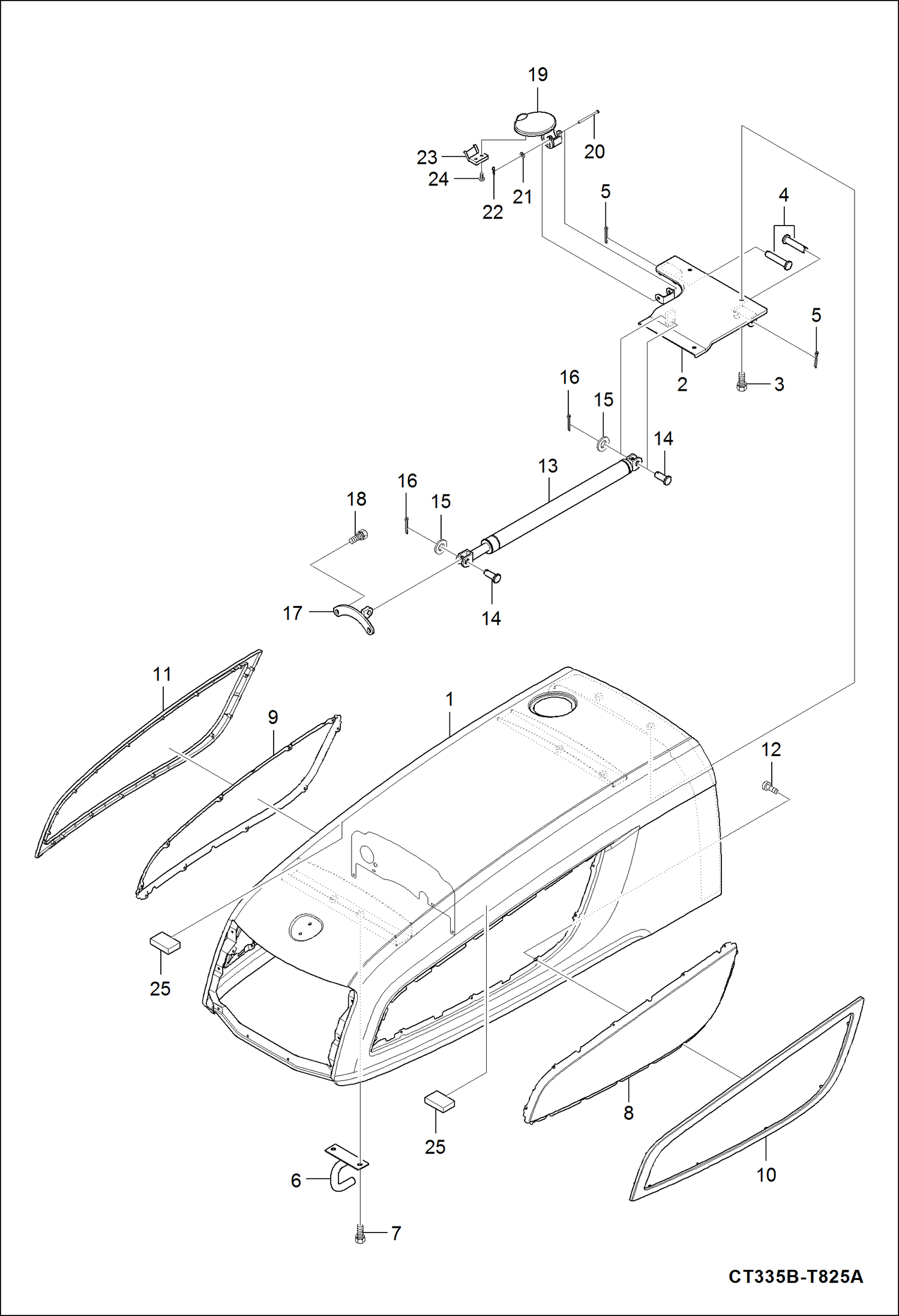
HOOD (Engine)
№
Артикул
Название
Примечание
Количество
1
7010616
COVER, HOOD Was 7002044 - A
2
7002080
HINGE, COVER
3
6694027
BOLT FLANGE
4
7002248
PIN, JOINT
5
6694212
PIN SNAP
6
7002081
HOLDER, BONNET
7
6694028
BOLT FLANGE Was 7002480 - B
8
7002259
SCREEN, LH
9
7002346
SCREEN, RH
10
7002378
FRAME, SIDE LH
11
7002381
FRAME, SIDE RH
12
6697611
SCREW
13
7002040
GAS SPRING
14
6694186
PIN JOINT
15
6697780
WASHER
16
17
7002128
SUPPORT, CYLINDER
18
6695569
BOLT FLANGE 8 mm x 20 mm long
BOLT FLANGE 8 mm x 16 mm long
19
6695838
COVER, FUEL
20
6696357
21
6697779
22
6694214
PIN SNAP Was 6696373 - A
23
6695731
CLIP
24
25
6695126
FOAM
Выбрано товаров: 0