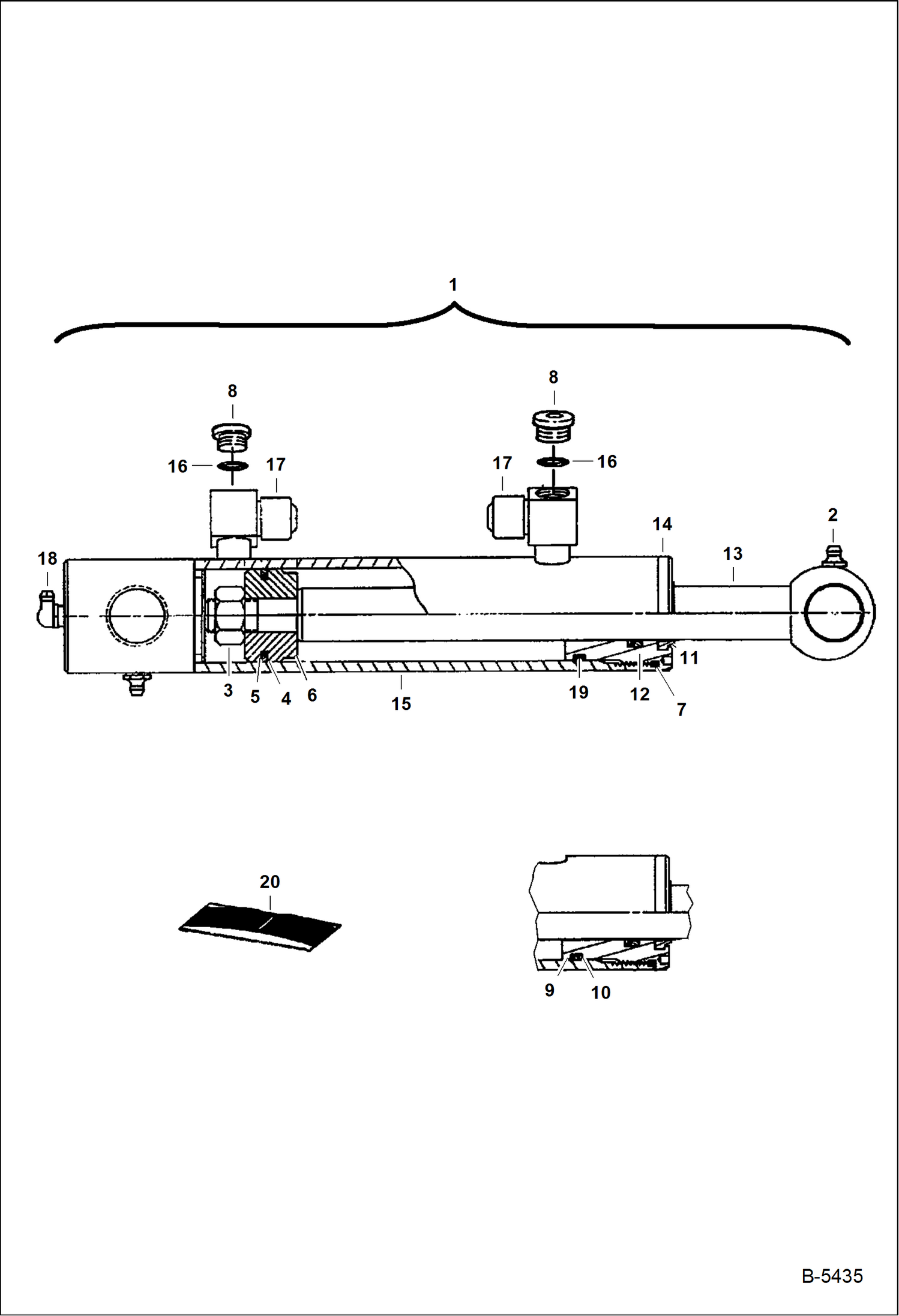
Запчасти Bobcat ANGLE BROOM ANGLE BROOM (Cylinder) (68 2310, 231311101 - 11457) (84 231411101 - 11289) Loader

Схема запчастей Bobcat ANGLE BROOM - ANGLE BROOM (Cylinder) (68 2310, 231311101 - 11457) (84 231411101 - 11289) Loader
FIT
1:1
100%

Артикул

Название

Примечание

Количество

1

CYLINDER See Illustration ANGLE BROOM/ PE1330 - NLA - Ref. 2-18 - Order 6809501 cylinder & (2) of 11K5 fitting - Was 6587733 - A

2

10H25

FITTING, GREASE 5

3

92D10

NUT

4

6532453

RING seal

5

25K30110

O RING 10 Was 54K30110 - A

6

6586543

PISTON

7

58K132

O'RING

8

90KV2

PLUG W/Ref. 16

9

54K40116

O-RING

10

73K222

RING

11

6666542

SEAL, WIPER ROD Was 1657083B - B

12

6667323

SEAL rod

13

ROD NLA - Order 6809501 cylinder - Was 6587736 - A

14

6586542

HEAD

15

6587735

TUBE W/Ref. 8 & 17

16

95K3

O'RING

17

6598938

CAP

18

12H15

FITTING, GREASE 5

19

7008782

SEAL, QUAD

20

7138014

SEAL KIT Ref. 3-5, 7, 11, 12, 19 - Was 6803473 - A

Выбрано товаров: 20