Качественные детали и логистика
Оригинальные и аналоговые запчасти с доставкой по России, Казахстану и Беларуси
©2022 PartSell ООО "Система" ИНН 2463123282 ОГРН 1212400004838
Центральный офис: г. Красноярск, Академика Киренского, д.87, пом.4
Телефон: 8 (800) 777-65-74 Email: zakaz@partsell.ru
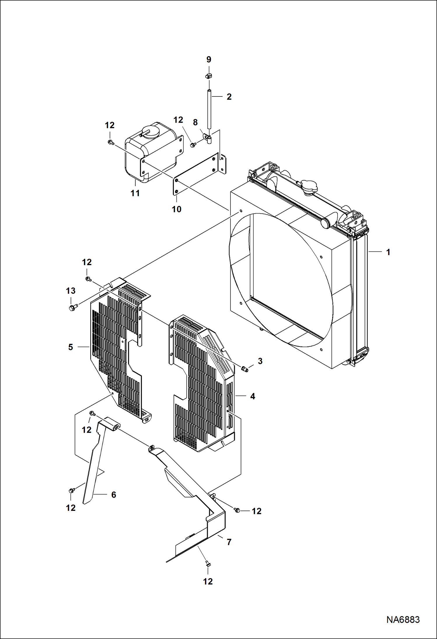
ASPHALT HEATER & GENERATOR (Generator) (Cooling System) (B14F)
№
Артикул
Название
Примечание
Количество
1
EXCHANGER, WATER RADIATOR See Illustration ASPHALT HEATER & GENERATOR/ NA6867
2
7027353
HOSE, OVER FLOW 762 mm (30'') long
3
7027394
INSERT, THREADED
4
7027241
GUARD, FAN left
5
7027242
GUARD, FAN right
6
7027243
GUARD, RADIATOR right
7
7027244
GUARD, RADIATOR left
8
7027339
CLAMP, HOSE 3/8''
9
7027347
CLAMP, HOSE
10
7027227
BRACKET
11
7027387
TANK, WATER COOLANT
12
7027431
SCREW, TAPPING
13
7027314
Выбрано товаров: 0