Качественные детали и логистика
Оригинальные и аналоговые запчасти с доставкой по России, Казахстану и Беларуси
©2022 PartSell ООО "Система" ИНН 2463123282 ОГРН 1212400004838
Центральный офис: г. Красноярск, Академика Киренского, д.87, пом.4
Телефон: 8 (800) 777-65-74 Email: zakaz@partsell.ru
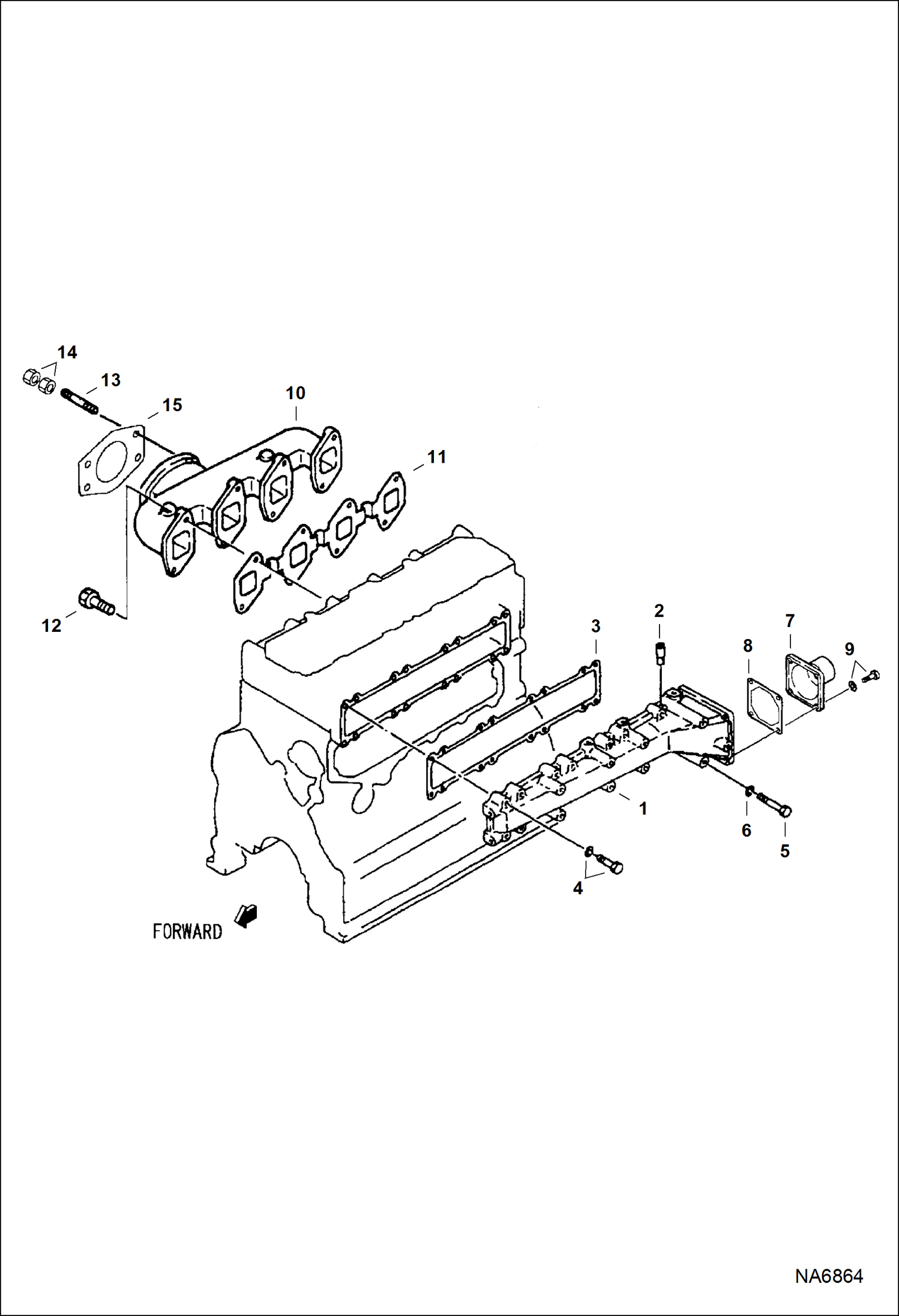
ASPHALT HEATER & GENERATOR (Engine) (Manifolds)
№
Артикул
Название
Примечание
Количество
1
7026377
MANIFOLD, INTAKE W/Ref. 2
2
7026323
PIPE, BREATHER
3
7026376
GASKET, INLET
4
7026552
BOLT, W/WASHER
5
7026505
BOLT
6
7026517
WASHER, SPRING
7
7026455
PIPE, INTAKE
8
7026446
9
7026548
10
7026380
MANIFOLD, EXHAUST
11
7026378
GASKET, EXHAUST
12
7026504
13
7026442
STUD
14
7026511
NUT
15
7026379
Выбрано товаров: 0