Запчасти Bobcat BACKHOE BUCKET CYLINDER (A2HH, A36S) BACKHOE

Схема запчастей Bobcat BACKHOE - BUCKET CYLINDER (A2HH, A36S) BACKHOE
FIT
1:1
100%

Артикул

Название

Примечание

Количество

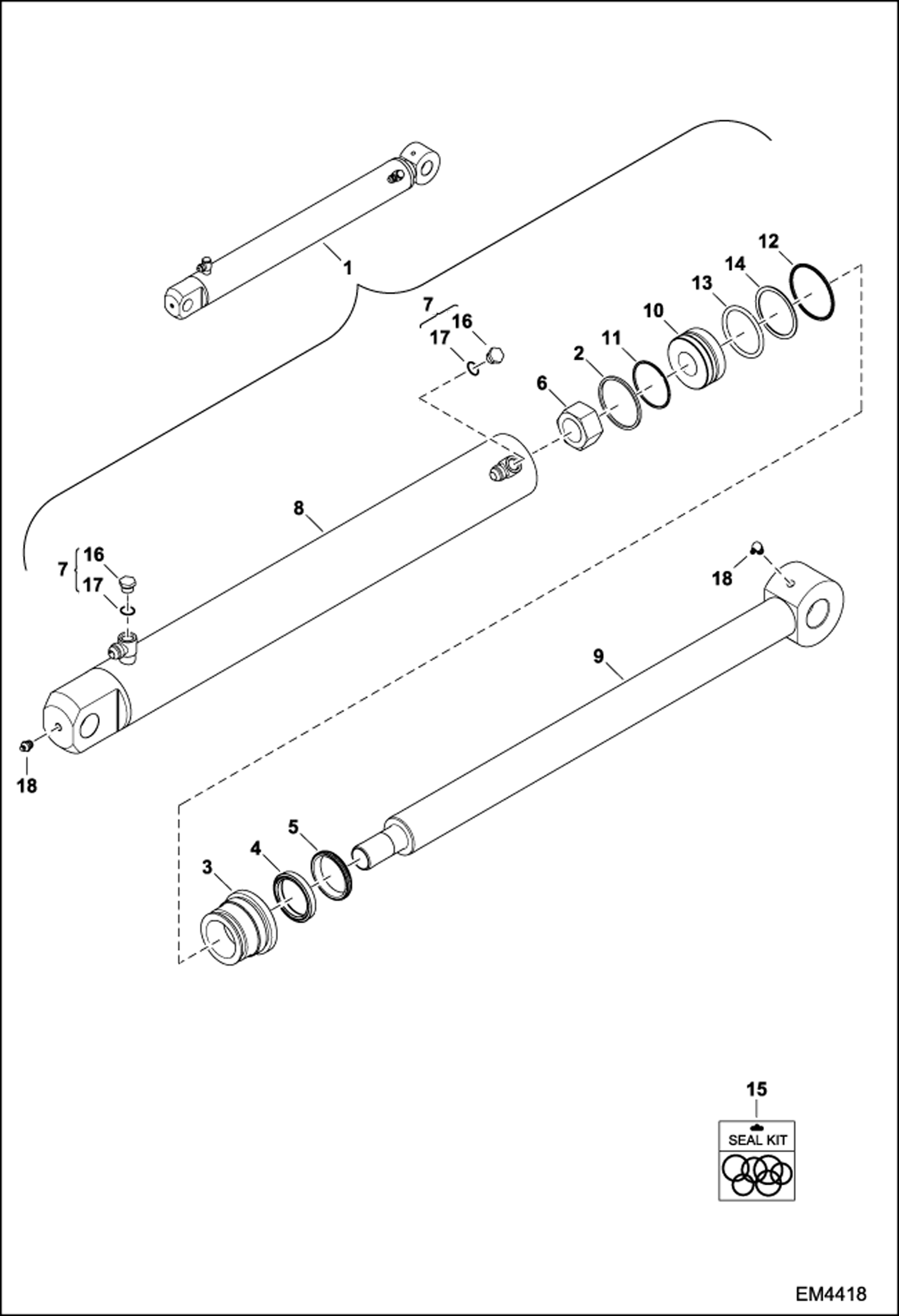
1

7146697

CYLINDER ASSY W/Ref. 2-14, 16, 17 - A

1

7146695

CYLINDER ASSY W/Ref. 2-14, 16, 17 - A

2

6516229

PISTON SEAL

2

947088

RING, BACK-UP

3

6532564

HEAD

3

7104453

HEAD

4

6667328

SEAL

5

6686998

WIPER, ROD CYL

6

6810540

NUT

7

6812171

PLUG W/Ref. 16, 17

7

6816855

PLUG W/Ref. 16, 17

8

7105400

TUBE W/Ref. 7, 12, 16, 17 - A

8

7104665

CASE W/Ref. 7, 12, 16, 17 - C, D

9

7146698

SHAFT - A

9

7146696

SHAFT - A

10

7147310

PISTON - A

10

7147312

PISTON - A

11

54K30210

O-RING

11

54K30218

O-RING

12

54K40224

O-RING

13

54K60212

O-RING

13

58K234

O RING 10 Was 54K40300 - A

14

73K332

RING

14

73K232

RING, BACK-UP

15

7137933

KIT, SEAL W/Ref. 2, 4-6, 11-14 - A

15

7137940

SEAL KIT W/Ref. 2, 4-6, 11-14 - A

16

PLUG NLA - Order Ref. 7

17

75K6

O-RING

17

75K7

O-RING

18

12H15

FITTING, GREASE 5 - B, D

19

7008355

SEAL, QUAD

Выбрано товаров: 31