Запчасти Bobcat BACKHOE CYLINDER HYDRAULIC CLAMP 835SH - S/N 9923 (1st 4 digits) 835SH BACKHOE

Схема запчастей Bobcat BACKHOE - CYLINDER HYDRAULIC CLAMP 835SH - S/N 9923 (1st 4 digits) 835SH BACKHOE
FIT
1:1
100%

Артикул

Название

Примечание

Количество

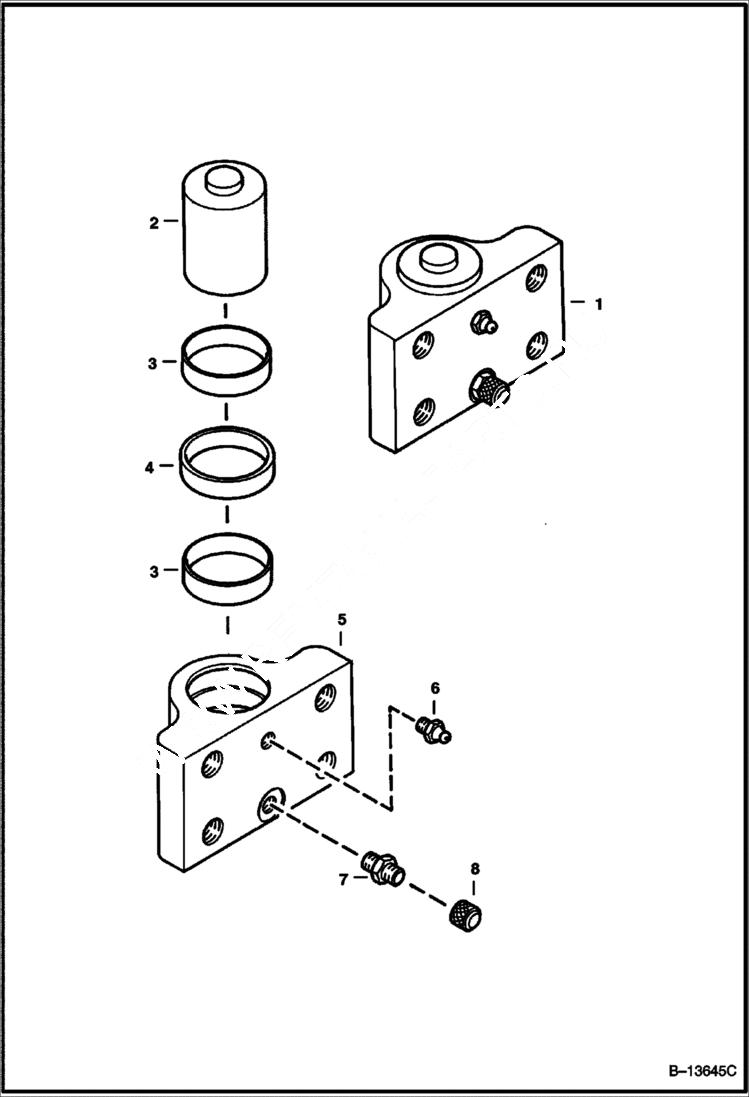
1

6588958

CYLINDER W/Ref. 2-8

2

6539223

PISTON

3

6659989

WEAR RING

4

6538278

SEAL

5

6539727

BLOCK Cylinder

6

10H25

FITTING, GREASE 5

7

15K3

CONNECTOR

8

6650136

CAP

Выбрано товаров: 8