Качественные детали и логистика
Оригинальные и аналоговые запчасти с доставкой по России, Казахстану и Беларуси
©2022 PartSell ООО "Система" ИНН 2463123282 ОГРН 1212400004838
Центральный офис: г. Красноярск, Академика Киренского, д.87, пом.4
Телефон: 8 (800) 777-65-74 Email: zakaz@partsell.ru
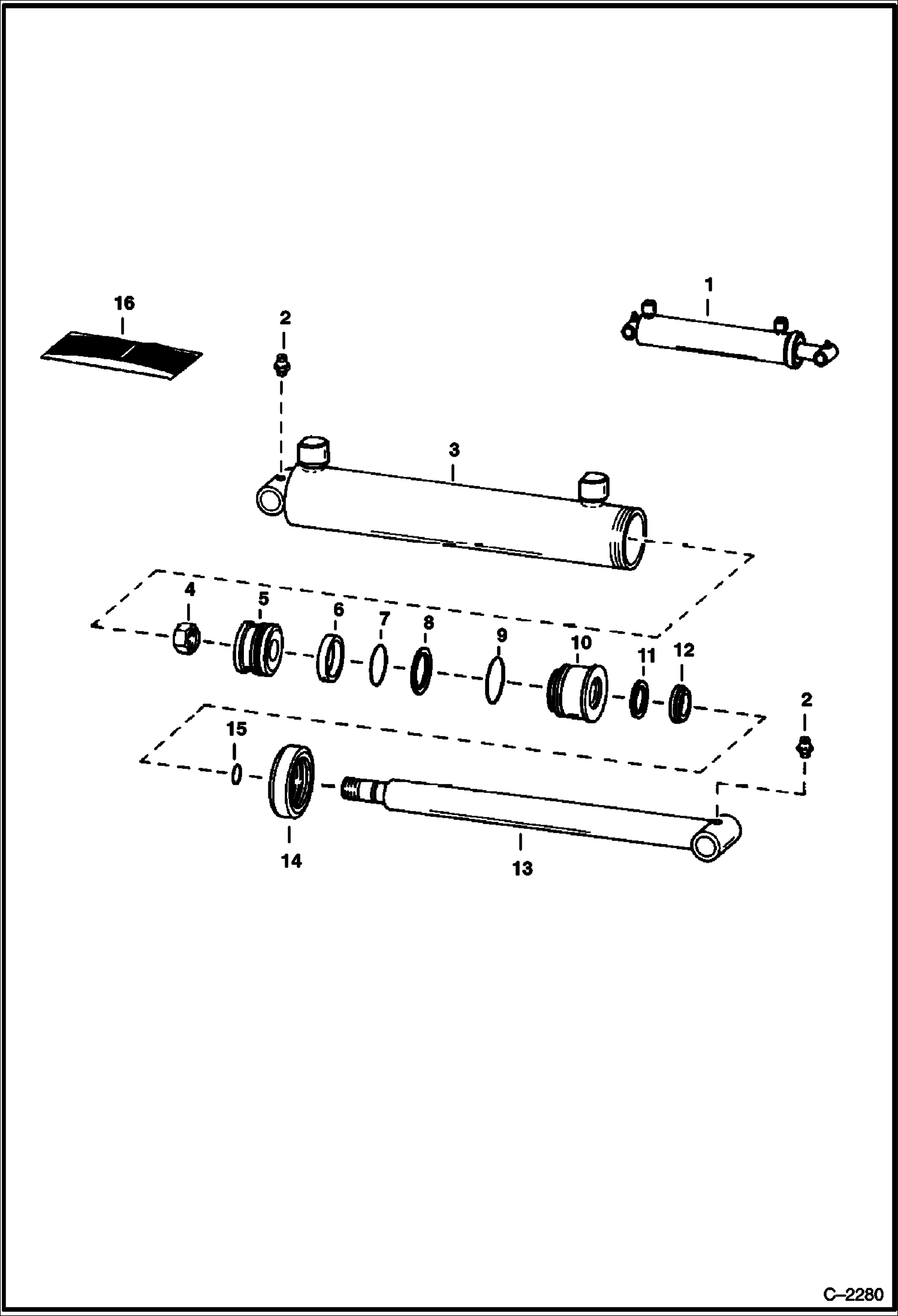
BACKHOE (Boom Cylinder) (406 6310 & Below) (506 6311 & Below)
№
Артикул
Название
Примечание
Количество
1
6554898
CYLINDER
2
10H35
FITTING, GREASE 10
3
CASE NLA
4
NUT NLA - buy locally
5
6513454
PISTON
6
RING NSS - wear
7
SEAL NSS - piston
8
SEAL NSS - slipper
9
SEAL NSS - gland static
10
6513456
GLAND
11
SEAL NSS - rod
12
WIPER NSS - rod
13
ROD NLA - Was 6513458 - A
14
6513461
COLLAR
15
SEAL NSS - rod static
16
6554899
SEAL KIT W/Ref. 6-9, 11, 12 & 15
Выбрано товаров: 0