Запчасти Bobcat BACKHOE BACKHOE (Bucket) (Pin-On) (406) (506) 406/506 BACKHOE

Схема запчастей Bobcat BACKHOE - BACKHOE (Bucket) (Pin-On) (406) (506) 406/506 BACKHOE
FIT
1:1
100%

Артикул

Название

Примечание

Количество

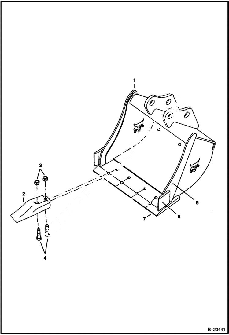
1

BUCKET SALES #6715495 - 229 mm (9'')

1

BUCKET SALES #6715496 - 305 mm (12'')

1

BUCKET SALES #6715497 - 406 mm (16'')

2

6684447

TOOTH WRef. 3 & 4 - Was 6667140 - A

3

63D8

NUT

4

47C832

BOLT

5

6807023

EDGE, SIDE WELD ON 13.50'' For 9'', 12'' & 16''

6

6807154

EDGE, SIDE WELD ON BEVELED 3'' For 9'', 12'' & 16'

7

6807021

EDGE, CUTTING BOLT ON BEVELED 9.25'' front - 9'' bucket

7

6807022

EDGE, CUTTING BOLT ON BEVELED 12.25'' front - 12'' bucket

7

6805434

EDGE, CUTTING WELD ON BEVELED 16.25'' front - 16'' bucket

Выбрано товаров: 11