Запчасти Bobcat BACKHOE BACKHOE (Mounting Kit - Hook Mount) (on 873/883 F or G Series) (8811 6301, A558 & B393) 811/8811 BACKHOE

Схема запчастей Bobcat BACKHOE - BACKHOE (Mounting Kit - Hook Mount) (on 873/883 F or G Series) (8811 6301, A558 & B393) 811/8811 BACKHOE
FIT
1:1
100%

Артикул

Название

Примечание

Количество

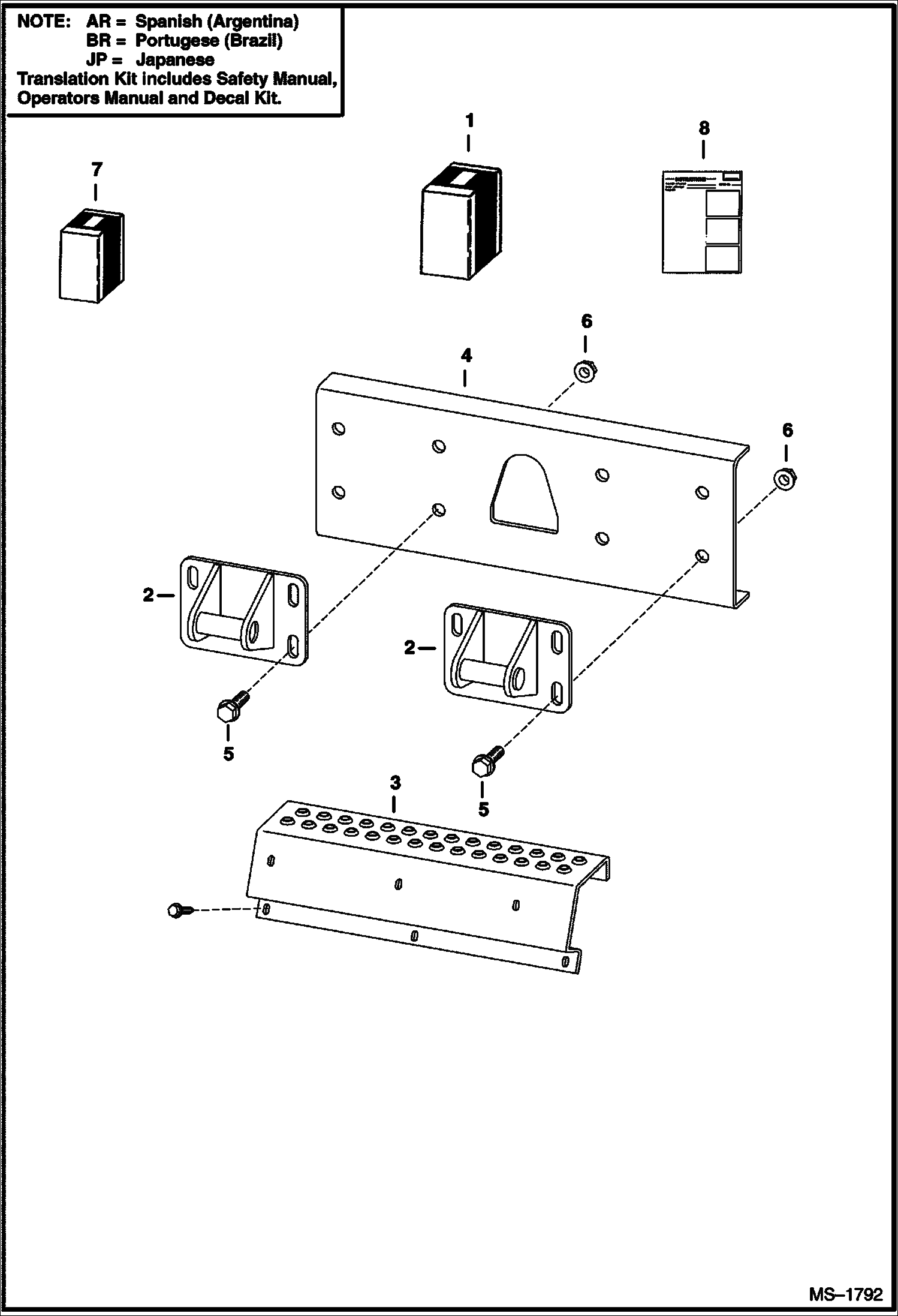
1

KIT SALES - W/Ref. 2-8 - SALES #6814459

2

6814443

MOUNT

3

6814445

STEP

4

6814444

BRACKET

5

31C1028

SCREW

6

53D10

NUT

7

6814457AR

TRANSLATION KIT

7

6814457BR

TRANSLATION KIT

8

6902078

INSTRUCTIONS

Выбрано товаров: 9