Запчасти Bobcat BACKHOE BACKHOE (Bucket Cylinder) (911B) 911B/914B BACKHOE

Схема запчастей Bobcat BACKHOE - BACKHOE (Bucket Cylinder) (911B) 911B/914B BACKHOE
FIT
1:1
100%

Артикул

Название

Примечание

Количество

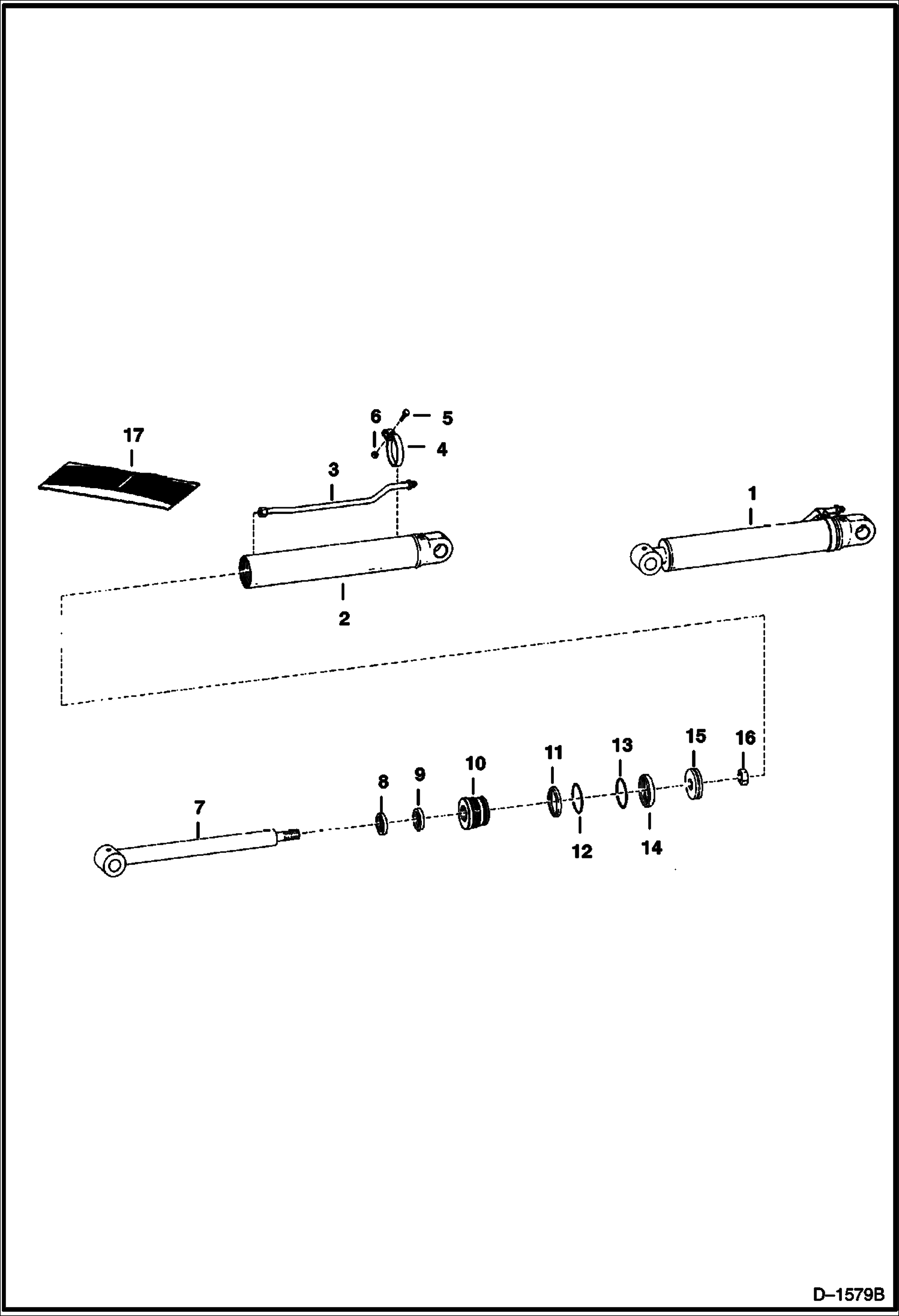
1

CYLINDER NLA - W/tube - Order 6591977 cyl. & 6529332 hose

1

6591977

CYLINDER W/O tube - Ref. 7-16

2

6592039

CASE

3

6591973

TUBE

4

6591976

CLAMP

5

17C520

BOLT 5

6

85D5

NUT 5

7

6591982

PISTON ROD piston

8

6686998

WIPER, ROD CYL Was 6666545 - A

9

6538277

SEAL u-cup - Was NSS - D

10

6546508

HEAD

11

73K232

RING, BACK-UP back-up - Was 80K232 - A

12

58K232

O RING 10 Was NSS - D

13

25K30218

O RING 10 Was NSS - D

14

947088

RING, BACK-UP slipper - Was NSS - D

15

6803870

PISTON Was 6553912 - A

16

6810539

NUT Was 86D000018B - A

17

6587994

SEAL KIT Ref. 8, 9, & 11-14 - Was 6538280 - A

Выбрано товаров: 18