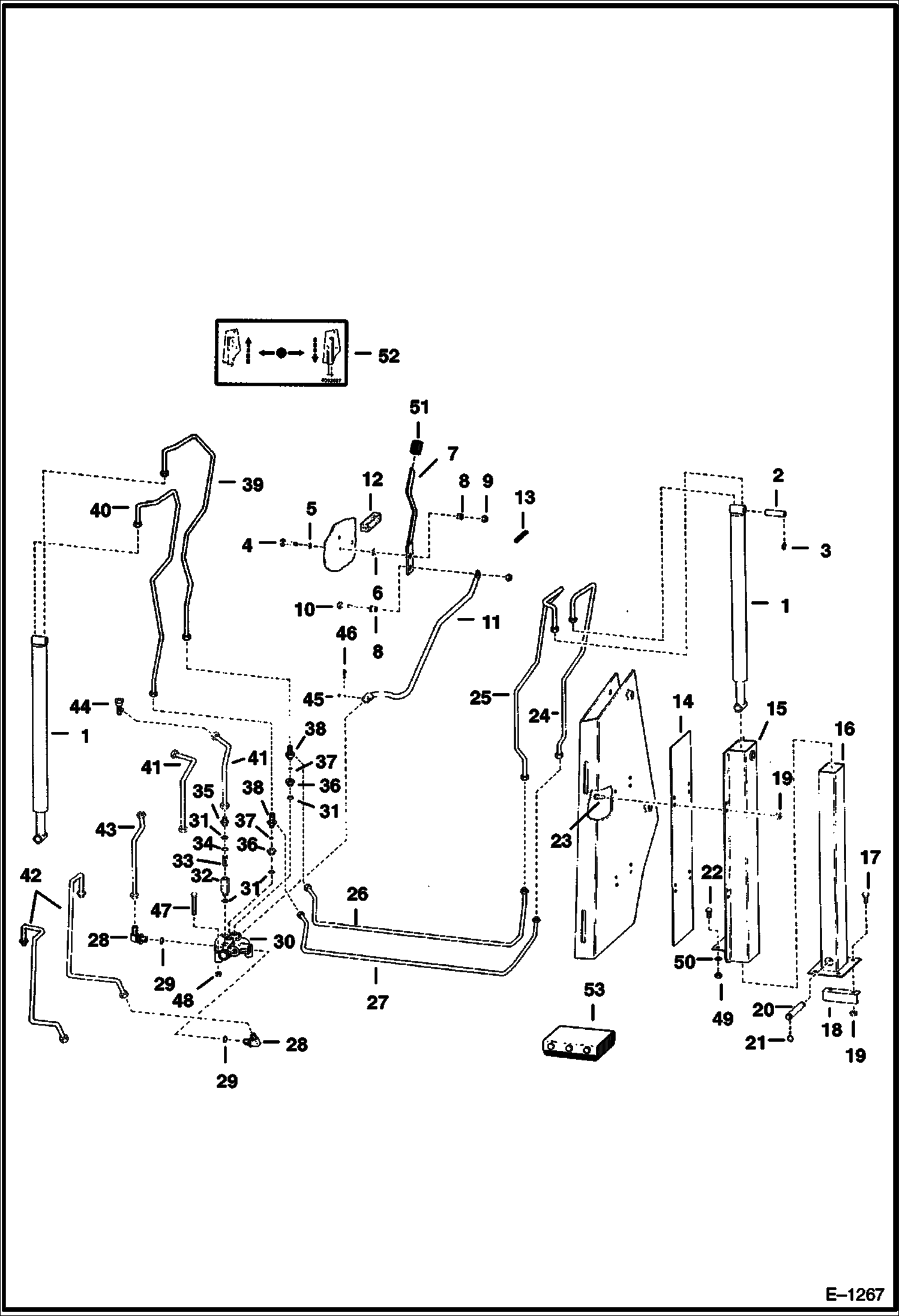
Запчасти Bobcat BACKHOE BACKHOE (Rear Stabilizer) (Bolt-on With Tubes) (630) (640) (730) (740 Series 11001 - 14999) REAR STABILIZERS

Схема запчастей Bobcat BACKHOE - BACKHOE (Rear Stabilizer) (Bolt-on With Tubes) (630) (640) (730) (740 Series 11001 - 14999) REAR STABILIZERS
FIT
1:1
100%

Артикул

Название

Примечание

Количество

1

CYLINDER See Illustration BACKHOE/ B20608 See Illustration BACKHOE/ B20607

2

6560668

PIN

3

22J16

SNAP RING Was 662770B - B

4

17C632

BOLT 5

5

27E6

WASHER 5

6

6560677

BUSHING

7

6564395

LEVER

8

6660701

SPRING Was 6561743 - A

9

85D6

NUT, 5

10

17C624

BOLT 5

11

ROD NLA - Was 6563362 - A

12

STRIP NLA - Order 1 ft. (304,8 mm) of 6554274 - Was 6560849 - A

13

6560848

STRIP

14

6562677

PLATE

15

6562675

CHANNEL

16

6560664

TUBE

17

17C824

BOLT 5

18

6560678

ANGLE

19

85D8

NUT, 5

20

6560669

PIN

21

22J16

SNAP RING Was 1320431B - B

22

17C1032

BOLT

23

17C1020

BOLT 5

24

6560683

TUBE

25

6560684

TUBE

26

6560686

TUBE

27

6560685

TUBE

28

17KB1012

FITTING, HYD ELBOW W/Ref. 29 - Was 1302104B - A

29

79K12

O RING 10

30

6513713

VALVE See Illustration BACKHOE/ C2509

31

79K10

O RING 10

32

FITTING NLA - Was 6559570 - A

33

6559571

CHECK VALVE check

34

25K20022

O RING 10

35

15K7

FITTING W/Ref. 31

36

3580358

ADAPTER W/Ref. 31

37

79K6

O RING 10

38

21K5

TEE

39

6560682

TUBE

40

6560681

TUBE

41

6560679

TUBE 730 & 740 Series Only

41

6560705

TUBE 630 & 640 Series Only

42

6560687

TUBE 730 & 740 Series Only

42

6560706

TUBE 630 & 640 Series Only

43

6560680

TUBE

44

13K7

FITTING

45

1319560

PIN

46

6513495

COTTER PIN

47

17C644

BOLT

48

61D6

NUT 5

49

85D10

NUT, 5

50

27E10

WASHER

51

6557730

GRIP

52

6562627

DECAL

53

6632446

PAD See BTI235 weld on

Выбрано товаров: 55