Запчасти Bobcat BACKHOE BACKHOE 8TB (Bucket Cylinder) BACKHOE

Схема запчастей Bobcat BACKHOE - BACKHOE 8TB (Bucket Cylinder) BACKHOE
FIT
1:1
100%

Артикул

Название

Примечание

Количество

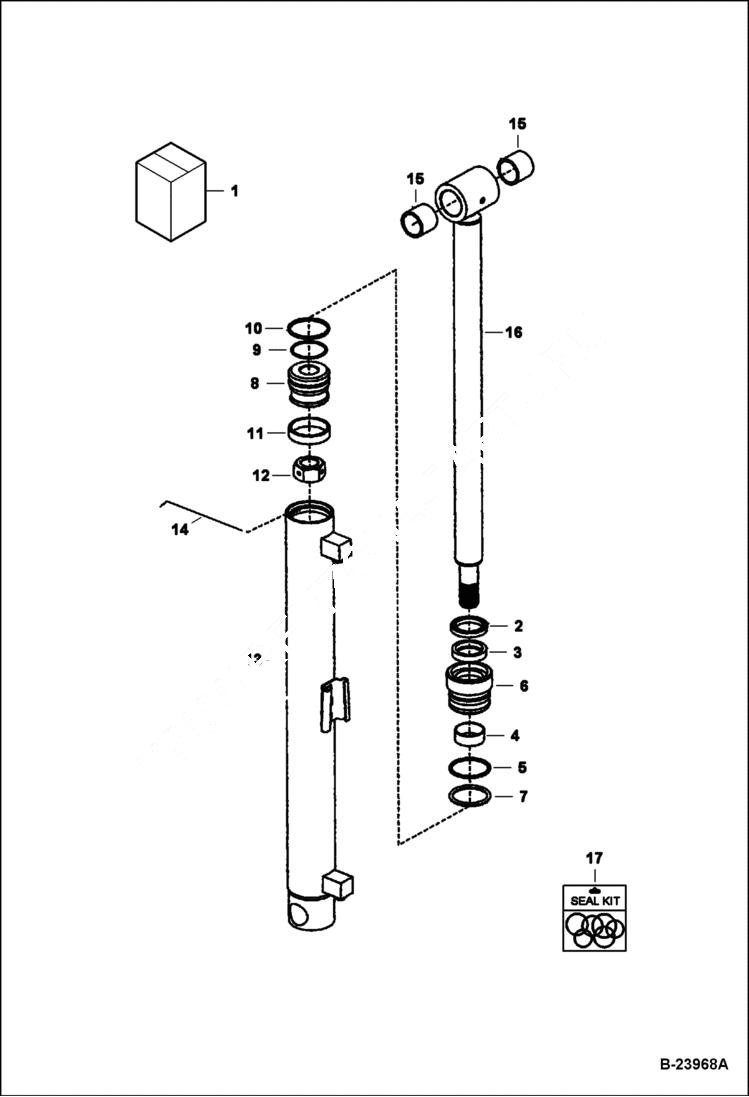
1

7003613

CYLINDER, BUCKET

2

SEAL, DUST NSS - order Ref. 17

3

SEAL, U-CUP NSS - order Ref. 17

4

SEAL, WIPER NSS - order Ref. 17

5

RING, BACKUP NSS - order Ref. 17

6

7003623

HEAD, CYLINDER

7

O-RING NSS - order Ref. 17

8

6693698

PISTON, CYLINDER

9

SEAL, O-RING NSS - order Ref. 17

10

SEAL, PISTON NSS - order Ref. 17

11

SEAL, WIPER NSS - order Ref. 17

12

6693701

NUT

13

7003624

TUBE, CYLINDER

14

WIRE, RETAINING NSS - order Ref. 17

15

7003614

BUSHING

16

7003622

ROD, CYLINDER

17

7003625

KIT, SEAL W/Ref. 2-5, 7, 9-11 & 14

Выбрано товаров: 17