Запчасти Bobcat BACKHOE BACKHOE 8TB (Dipper Cylinder) BACKHOE

Схема запчастей Bobcat BACKHOE - BACKHOE 8TB (Dipper Cylinder) BACKHOE
FIT
1:1
100%

Артикул

Название

Примечание

Количество

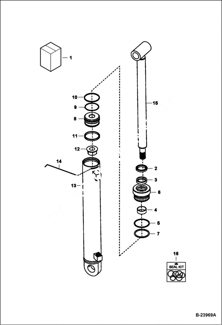
1

7003612

CYLINDER, DIPPER

2

SEAL, DUST NSS - order Ref. 16

3

SEAL, U-CUP NSS - order Ref. 16

4

SEAL, PISTON NSS - order Ref. 16

5

RING, BACKUP NSS - order Ref. 16

6

7003591

HEAD, CYLINDER

7

O-RING NSS - order Ref. 16

8

7003592

PISTON, CYLINDER

9

SEAL, O-RING NSS - order Ref. 16

10

SEAL, PISTON NSS - order Ref. 16

11

SEAL, WIPER NSS - order Ref. 16

12

6693746

NUT, LOCK FLANGE

13

7027462

TUBE, CYL HYD

14

WIRE, RETAINING NSS - order Ref. 16

15

7027463

ROD

16

7003594

KIT, SEAL W/Ref. 2-5, 7, 9-11 & 14

Выбрано товаров: 16