Запчасти Bobcat BACKHOE BACKHOE 8TB (Stabilizer Cylinder) BACKHOE

Схема запчастей Bobcat BACKHOE - BACKHOE 8TB (Stabilizer Cylinder) BACKHOE
FIT
1:1
100%

Артикул

Название

Примечание

Количество

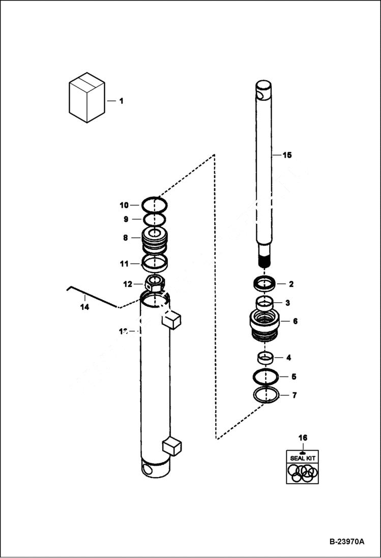
1

7003552

CYLINDER, STABILIZER

2

SEAL, DUST NSS - order Ref. 16

3

SEAL, U-CUP NSS - order Ref. 16

4

SEAL, WIPER NSS - order Ref. 16

5

RING, BACKUP NSS - order Ref. 16

6

6693699

HEAD, CYLINDER

7

O-RING NSS - order Ref. 16

8

6693698

PISTON, CYLINDER

9

SEAL, O-RING NSS - order Ref. 16

10

SEAL, PISTON NSS - order Ref. 16

11

SEAL, WIPER NSS - order Ref. 16

12

6693701

NUT

13

7003606

TUBE, CYLINDER

14

WIRE, RETAINING NSS - order Ref. 16

15

7003605

ROD, CYLINDER

16

6693695

KIT, SEAL CYLINDER W/Ref. 2-5, 7, 9-11 & 14

Выбрано товаров: 16