Запчасти Bobcat BALE HANDLERS Frame Loader

Схема запчастей Bobcat BALE HANDLERS - Frame Loader
FIT
1:1
100%

Артикул

Название

Примечание

Количество

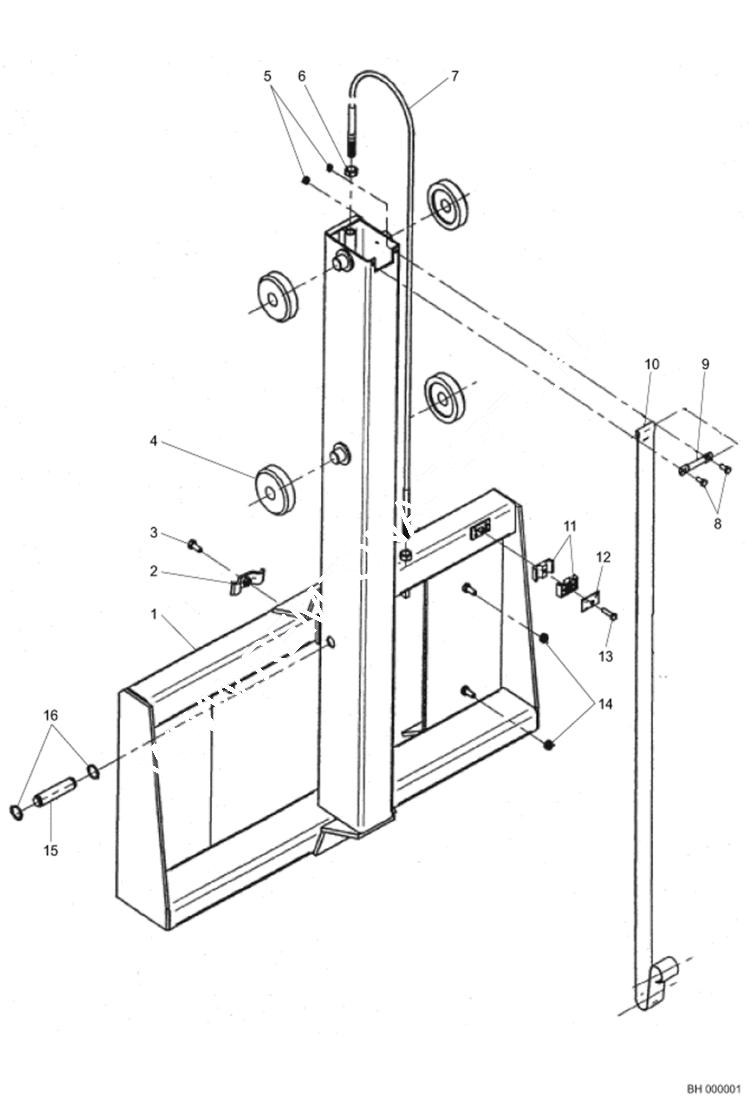
1

6690503

Frame assy

2

6690539

Flange

3

6690553

Screw

4

6690545

Pulley

5

6690513

Nut

6

6690512

Nut

7

6690507

Cable

8

6690556

Screw

9

6690543

Spindle

10

6690544

Strap

11

6690532

Clamp

12

6690533

Plate

13

6690557

Screw

14

6690510

Nut

15

6690499

Spindle

16

6690508

Clip

Выбрано товаров: 16