Качественные детали и логистика
Оригинальные и аналоговые запчасти с доставкой по России, Казахстану и Беларуси
©2022 PartSell ООО "Система" ИНН 2463123282 ОГРН 1212400004838
Центральный офис: г. Красноярск, Академика Киренского, д.87, пом.4
Телефон: 8 (800) 777-65-74 Email: zakaz@partsell.ru
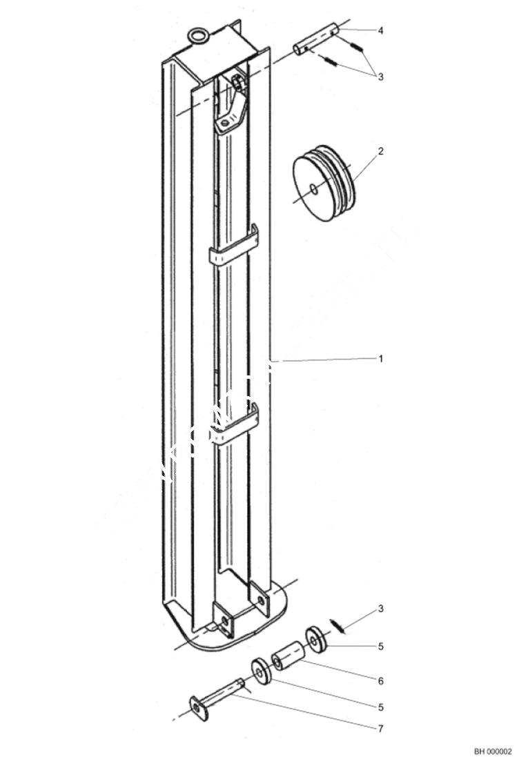
Mobile Frame
№
Артикул
Название
Примечание
Количество
1
6690542
Frame assy
2
6690509
Pulley
3
6690521
Pin
4
6690500
Spindle
5
6690546
Washer
6
6690547
7
6690498
Выбрано товаров: 0