Запчасти Bobcat BALE HANDLERS Electric and hydraulic equipment Loader

Схема запчастей Bobcat BALE HANDLERS - Electric and hydraulic equipment Loader
FIT
1:1
100%

Артикул

Название

Примечание

Количество

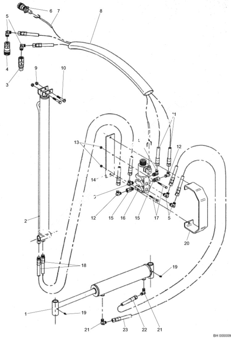
1

6690550

Cylinder

2

6690549

Cylinder

3

6690534

Coupler Male

4

6690535

Coupler female

5

6690528

Elbow union

6

6690504

Electric connector

7

6690505

Wire harness

8

6690506

Insulation

9

6690510

Nut

10

6690555

Screw

11

6690517

Hose

12

6690529

Elbow union

13

6690514

Nut

14

6690537

Support

15

6690530

Adapter

16

6690516

Block hydraulic

17

6690558

Screw

18

6690520

Hose

19

6690526

Grease Nipple

20

6690538

Shield

21

6690527

Elbow union

22

6690519

Hose

23

6690518

Hose

Выбрано товаров: 23