Запчасти Bobcat BREAKERS BREAKER (Control Pedal) (1250X) (Use on 76 504812001 & Above) Экскаваторы

Схема запчастей Bobcat BREAKERS - BREAKER (Control Pedal) (1250X) (Use on 76 504812001 & Above) Экскаваторы
FIT
1:1
100%

Артикул

Название

Примечание

Количество

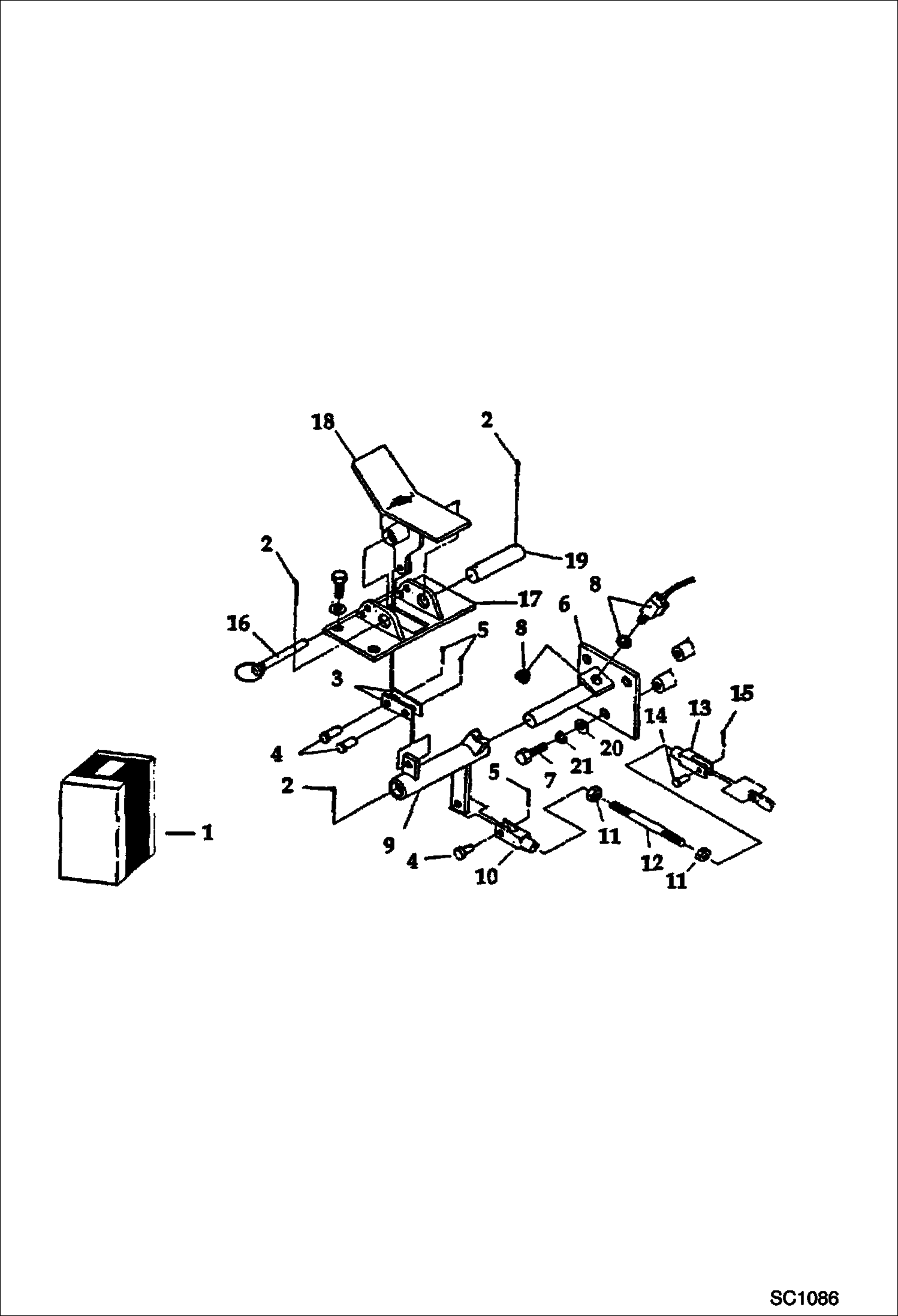
1

KIT NLA - Order Individual Parts

2

COTTERPIN NLA - Was 1F432 - A

3

6652009

PLATE

4

PIN NLA - clevis - Was 6651398 - A

5

6651399

COTTER PIN

6

BRACKET NLA - Was 6652010 - A

7

BOLT NLA - Was 17CM-1030 - A

8

6650594

SWITCH

9

6652011

TUBE

10

6651397

YOKE clevis

11

85D5

NUT 5

12

6652012

ROD

13

6651401

YOKE clevis

14

6651402

CLEVIS PIN

15

6651399

COTTER PIN Was 6652013 - A

16

6652014

HARNESS

17

6652008

BASE bracket

18

6651393

PEDAL

19

6651394

ROD

20

25E17

WASHER 5

21

23E6

WASHER

Выбрано товаров: 21