Запчасти Bobcat CLAMPS CLAMP (NAP Hydraulic Cylinder)(225,231,325,328,331,334) (2.75 I.D. & 3.25 O.D. Housing) Экскаваторы

Схема запчастей Bobcat CLAMPS - CLAMP (NAP Hydraulic Cylinder)(225,231,325,328,331,334) (2.75 I.D. & 3.25 O.D. Housing) Экскаваторы
FIT
1:1
100%

Артикул

Название

Примечание

Количество

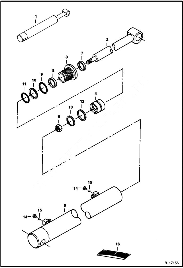
1

CYLINDER See Illustration CLAMP/ B17156 NLA - Ref. 2 - Order 6805607 & (2) 6806111 - Was 6802235 - A

2

6802237

ROD W/Ref. 7

3

6586718

HEAD, CYL TILT

4

6802241

PISTON

5

6810539

NUT Was 6804592 - A

6

6802236

HOUSING

7

6690707

WIPER, ROD CYL Was 6665086 - A

8

6667326

SEAL

9

25K40224

O RING 10 Was 54K40224 - B

10

80K332

WASHER Back-up

11

25K60212

O RING 10 Was 54K60212 - B

12

6516229

PISTON SEAL

13

25K30210

O-RING Was 54K30210 - B

14

PLUG NLA - W/Ref. 15 - flat boss face - Was 47K000002B - A

14

90KV2

PLUG W/Ref. 15 - tapered boss face

15

79K3

O RING 10 for flat boss face

15

95K3

O'RING for tapered boss face

16

6817517

KIT, SEAL W/Refs. 5 & 7 - 13 - Was 6804610 - A

Выбрано товаров: 18