Запчасти Bobcat DROP HAMMER DROP HAMMER (Control Valve) (0058) Loader

Схема запчастей Bobcat DROP HAMMER - DROP HAMMER (Control Valve) (0058) Loader
FIT
1:1
100%

Артикул

Название

Примечание

Количество

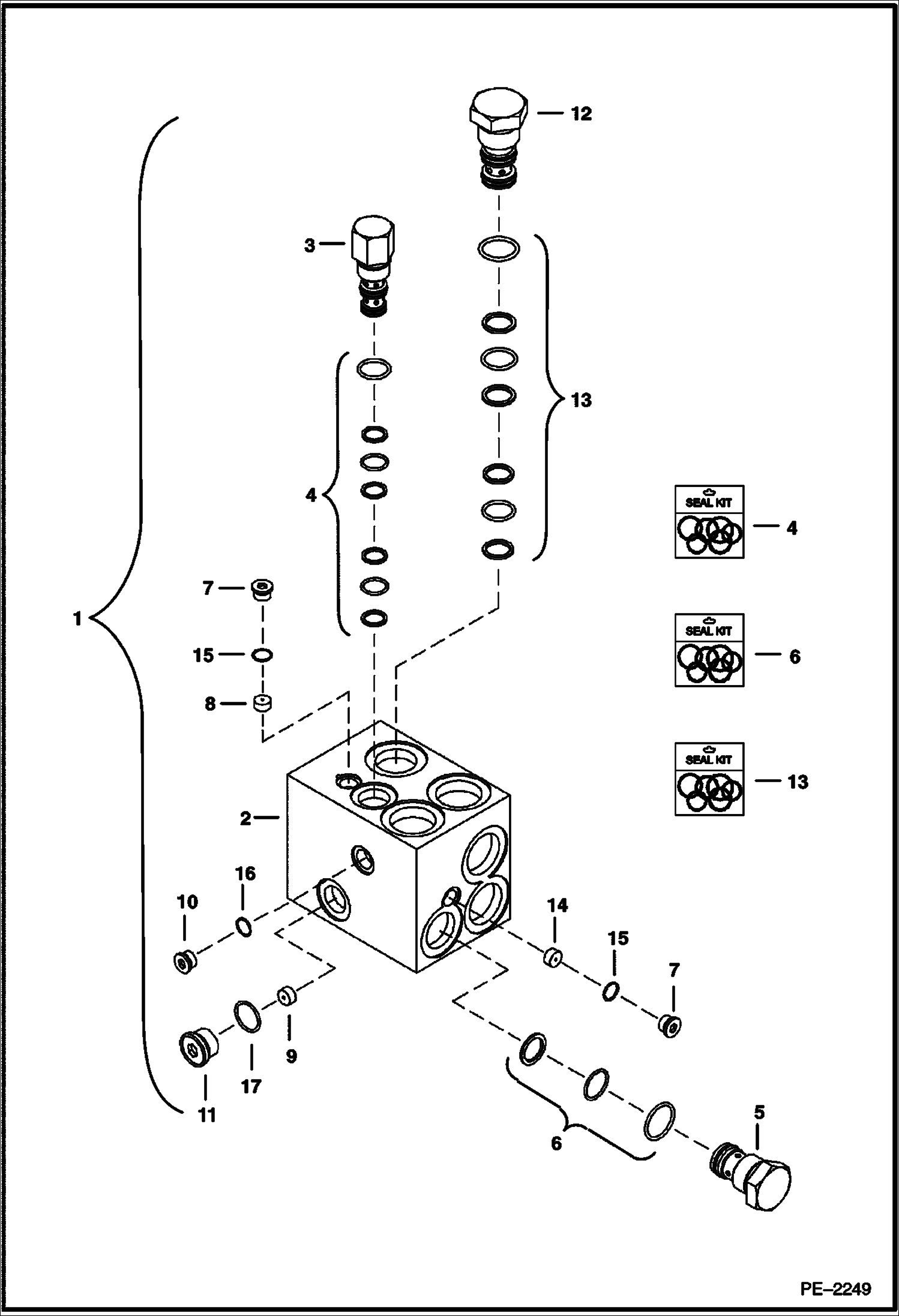
1

6683394

VALVE ASSY W/Ref. 2 - 17

2

BLOCK NSS - Order Ref. 1

3

6675187

ELEMENT logic

4

6667181

SEAL KIT

5

6686067

CHECK VALVE

6

6667626

SEAL KIT

7

6665719

PLUG

8

6669615

ORIFICE 0.02

9

6686066

ORIFICE

10

6669620

PLUG

11

6674548

PLUG

12

6674442

VALVE logic

13

6676314

SEAL KIT

14

6669613

ORIFICE 0.06

15

79K4

O RING 10

16

79K6

O RING 10

17

79K8

O RING 10

Выбрано товаров: 17