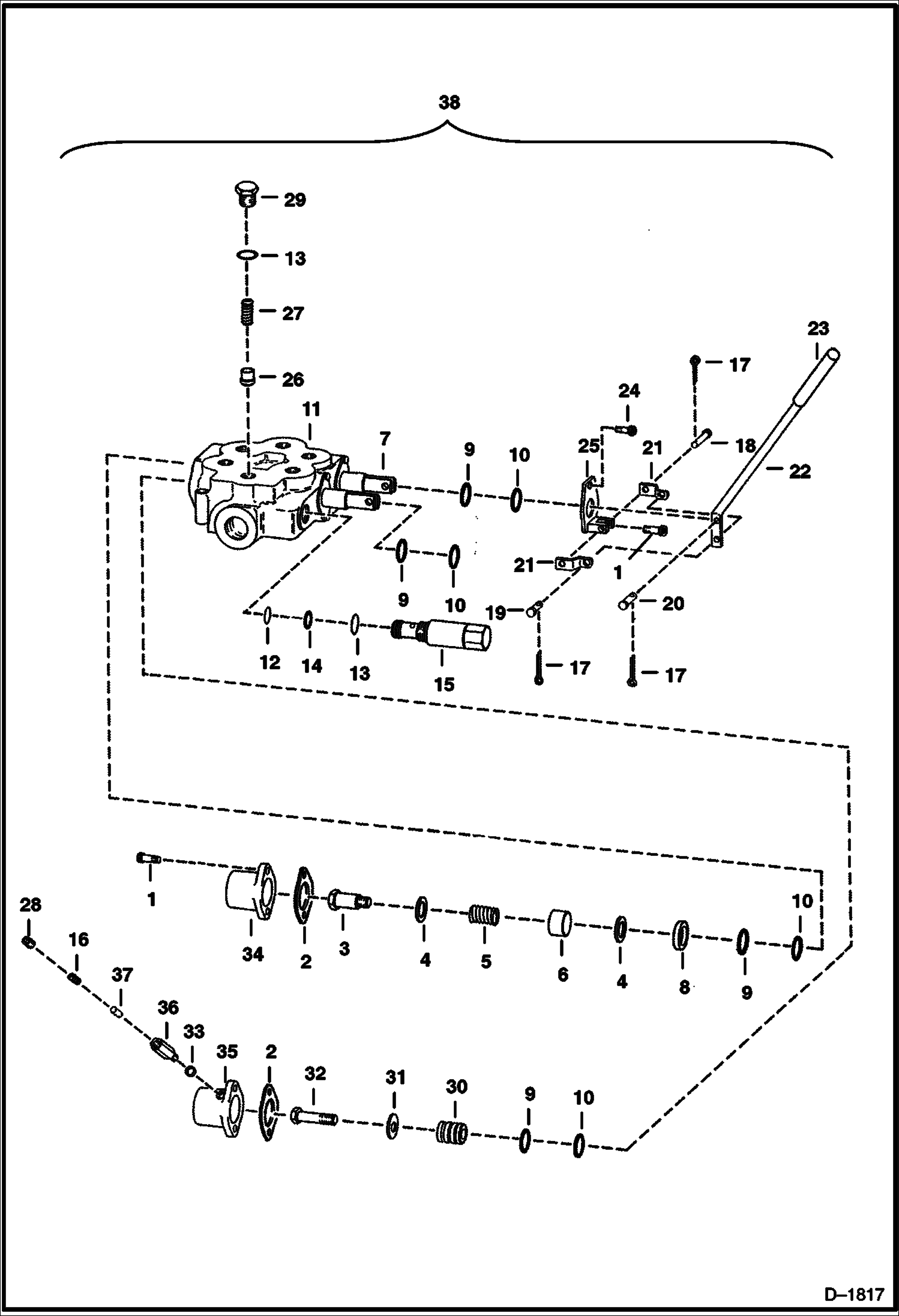
Запчасти Bobcat LANDSCAPE RAKE LANDSCAPE RAKE (Valve) (3-Point Hitch Mounted) (A or B Series) Loader

Схема запчастей Bobcat LANDSCAPE RAKE - LANDSCAPE RAKE (Valve) (3-Point Hitch Mounted) (A or B Series) Loader
FIT
1:1
100%

Артикул

Название

Примечание

Количество

1

73G412

SCREW

2

6634904

SEAL RETAINER

3

6643258

BOLT

4

6643259

WASHER

5

6643260

SPRING

6

6643261

SPACER

7

SPOOL NSS

8

6643262

SPACER

9

6634902

WIPER

10

6634903

QUAD RING

11

BODY NSS

12

6643263

O-RING

13

6643264

O-RING

14

6643265

WASHER back-up

15

6643266

RELIEF VALVE

16

6643267

SPRING

17

1F308

PIN, COTTER

18

6643268

PIN

19

6643269

PIN

20

6643270

PIN

21

6643271

LINKAGE

22

6643272

HANDLE

23

GRIP NLA - Was 6643273 - A

24

73G408

SCREW

25

6643274

BRACKET clevis

26

6643275

POPPET

27

6643276

SPRING

28

33G508

SET SCREW

29

6643277

PLUG

30

6643278

SLEEVE detent

31

6643279

WASHER

32

17C524

BOLT

33

6643280

WASHER

34

6643281

CAP

35

6643282

CAP

36

6643283

HOUSING detent

37

6643284

POINT

38

6653546

VALVE Was 6632391 - A

Выбрано товаров: 38