Качественные детали и логистика
Оригинальные и аналоговые запчасти с доставкой по России, Казахстану и Беларуси
©2022 PartSell ООО "Система" ИНН 2463123282 ОГРН 1212400004838
Центральный офис: г. Красноярск, Академика Киренского, д.87, пом.4
Телефон: 8 (800) 777-65-74 Email: zakaz@partsell.ru
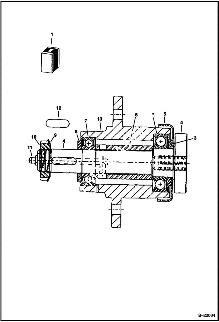
MOWER (Spindle Assembly) (72 2304)
№
Артикул
Название
Примечание
Количество
1
6681854
SPINDLE ASSY W/Ref. 2 - 13
2
6683904
BEARING
3
6683903
WASHER
4
6683902
SHAFT
5
6683901
DUST CAP
6
6683900
SPACER
7
6683899
8
6683898
9
6683897
10
6683896
NUT
11
6683895
GREASE ZERK
12
6683894
KEY
13
6683905
HUB hub only
Выбрано товаров: 0