Запчасти Bobcat PLANERS PLANER (Main Frame) (Standard Flow Planer) (14 231200101 & Above) Loader

Схема запчастей Bobcat PLANERS - PLANER (Main Frame) (Standard Flow Planer) (14 231200101 & Above) Loader
FIT
1:1
100%

Артикул

Название

Примечание

Количество

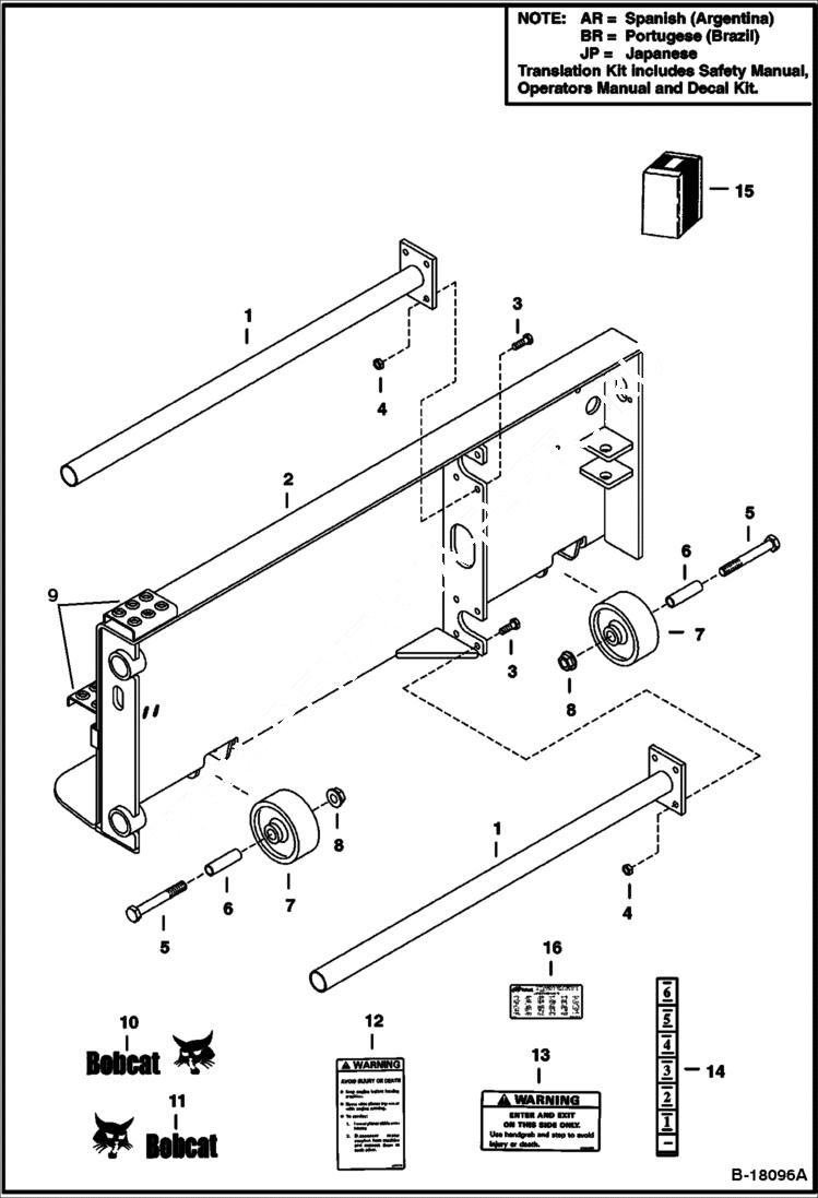
1

6713473

SLIDE BAR

2

6713465

MAIN FRAME

3

17C824

BOLT 5

4

61D8

NUT 5

5

17C1288

BOLT

6

6668934

BUSHING

7

6670683

WHEEL W/Ref. 6

8

53D12

NUT

9

6701943

STEP

10

6727323

DECAL, LOGO BOBCAT AND HEAD Was 6567987 - B

11

6727324

DECAL, LOGO BOBCAT AND HEAD RH - Was 6567988 - B

12

6578779

DECAL, WARNING avoid injury

13

6594488

DECAL, WARNING Warning - Enter/Exit

14

6905571

DECAL Depth

15

6905879AR

KIT decal - SEE NOTE

15

6905879BR

KIT decal - SEE NOTE

15

6905879JP

KIT decal - SEE NOTE

15

6905916AR

KIT translation - SEE NOTE

15

6905916BR

KIT translation - SEE NOTE

16

DECAL NLA - patent - Was 6557224 - C

Выбрано товаров: 20