Запчасти Bobcat POWER RAKE POWER RAKE (Roller & Chaincase Assy) (72 925100101 - 00350) Loader

Схема запчастей Bobcat POWER RAKE - POWER RAKE (Roller & Chaincase Assy) (72 925100101 - 00350) Loader
FIT
1:1
100%

Артикул

Название

Примечание

Количество

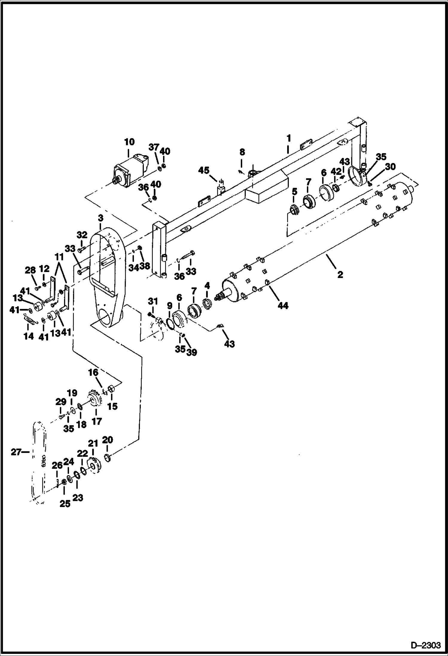
1

6666982

FRAME

2

ROLLER NLA - W/Ref. 44 - w/ std. square teeth - Was 6666981 - A

2

6675241

ROLLER W/Ref. 44 - with carbide teeth

3

6666980

CHAINCASE

4

6666979

COLLAR

5

6666978

COLLAR

6

6666948

HOUSING

7

6666947

BEARING W/Ref. 42

8

10H35

FITTING, GREASE 10

9

6667117

O-RING

10

6666934

MOTOR See Illustration POWER RAKE/ B14355

11

6666977

ARM

12

6666976

BUSHING

13

6666975

ROLLER

14

6666974

SPRING

15

6666973

COLLAR

16

6666992

BUSHING

17

6666991

SPROCKET

18

6666990

BUSHING

19

6666989

WASHER

20

6666988

SLEEVE

21

6666987

SPROCKET

22

6666986

BUSHING

23

6666985

BUSHING

24

25E27

WASHER

25

3D12

NUT Slotted

26

1F524

PIN

27

6666984

CHAIN #60

28

17C520

BOLT 5

29

17C612

BOLT 5

30

17C620

BOLT

31

17C632

BOLT 5

32

17C832

BOLT

33

17C848

BOLT

34

4E5

WASHER

35

4E6

WASHER

36

4E8

WASHER

37

28E8

WASHER

38

85D5

NUT 5

39

85D6

NUT, 5

40

85D8

NUT, 5

41

6666983

WASHER

42

COLLAR NSS - Used on Right Hand side only - Order Ref. 7

43

12H25

FITTING

44

TOOTH NLA - Weld on - Hardening is required for replacement teeth - Order 6674518 - Was 6667719 - A

44

6674518

TOOTH carbide - hardening not required

45

6686862

MOUNT, CYLINDER cylinder - replaces pin as cylinder mount - includes mount, bolt & instructions

Выбрано товаров: 0