Качественные детали и логистика
Оригинальные и аналоговые запчасти с доставкой по России, Казахстану и Беларуси
©2022 PartSell ООО "Система" ИНН 2463123282 ОГРН 1212400004838
Центральный офис: г. Красноярск, Академика Киренского, д.87, пом.4
Телефон: 8 (800) 777-65-74 Email: zakaz@partsell.ru
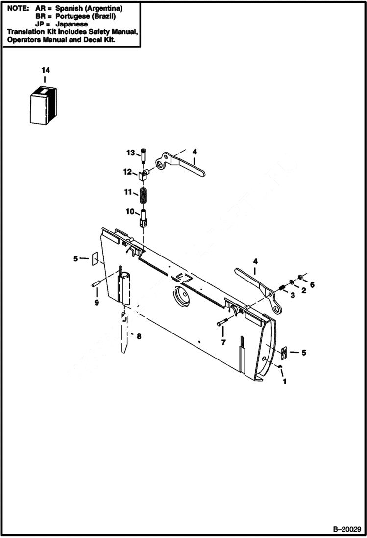
SCARIFIER (Mounts between Bob-Tach & Attachment)
№
Артикул
Название
Примечание
Количество
1
10H35
FITTING, GREASE 10
2
619021
WASHER, 5
3
6704453
SPRING
4
6719501
LEVER RH
6719502
LEVER LH
5
6705340
DECAL, GREASE
6
85D6
NUT, 5
7
17C644
BOLT
8
6737191
WEDGE Was 6704242 - A
9
14J5032
PIN, STRAIGHT
10
6704248
PIVOT, WEDGE
11
6578253
SPRING, COMPRESSION Was 6562018 - A
12
6704240
PIVOT ASSY.
13
6728473
BOLT, SHOULDER pre-applied thread locker
14
6906596AR
KIT translation - SEE NOTE
6906596BR
6906581AR
KIT decal - SEE NOTE
6906581BR
6906581JP
Выбрано товаров: 0