Качественные детали и логистика
Оригинальные и аналоговые запчасти с доставкой по России, Казахстану и Беларуси
©2022 PartSell ООО "Система" ИНН 2463123282 ОГРН 1212400004838
Центральный офис: г. Красноярск, Академика Киренского, д.87, пом.4
Телефон: 8 (800) 777-65-74 Email: zakaz@partsell.ru
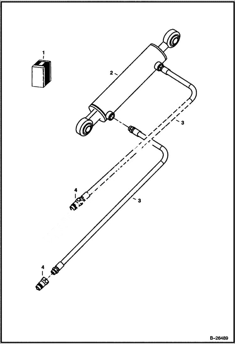
SILT FENCE INSTALLER Hydraulic Top Link
№
Артикул
Название
Примечание
Количество
1
KIT SALES #7137759 - hydraulic top link - Ref. 2-4
2
CYLINDER See Illustration SILT FENCE INSTALLER/ B26490 NSS - Order Ref. 1
3
6692420
HOSE
4
6692421
COUPLER
Выбрано товаров: 0