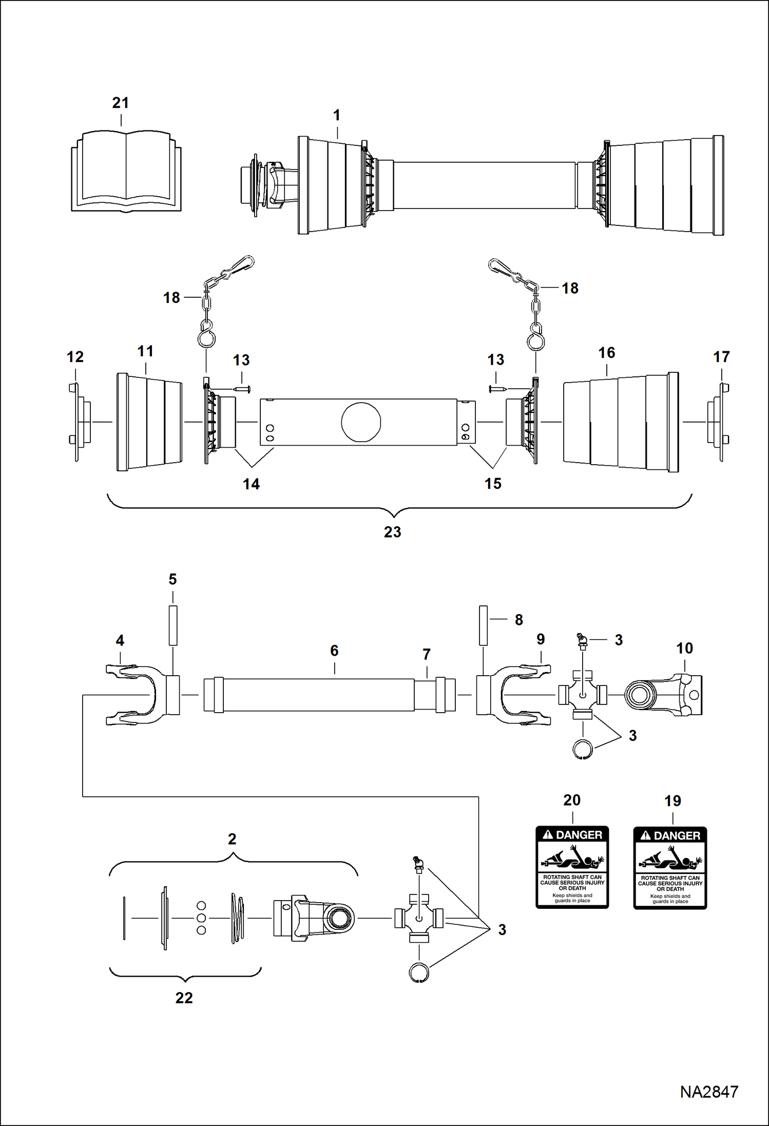
Запчасти Bobcat SNOWBLOWER SNOWBLOWER (PTO Shaft) (3SB54 ABCW) (3SB66 ABCU) (3SB72 AB4K) Компактные тракторы

Схема запчастей Bobcat SNOWBLOWER - SNOWBLOWER (PTO Shaft) (3SB54 ABCW) (3SB66 ABCU) (3SB72 AB4K) Компактные тракторы
FIT
1:1
100%

Артикул

Название

Примечание

Количество

1

7170263

SHAFT, PTO ASSY W/Ref. 2-22

2

7001681

U-JOINT

3

7001683

CROSS, U-JOINT

4

7001684

U-JOINT

5

7001685

PIN

6

SHAFT NSS - U-joint - outer - Order Ref. 1

7

SHAFT, U-JOINT NLA - U-joint - inner - Order Ref. 1 - Was 7008577 - A

8

7001688

PIN

9

7001689

U-JOINT

10

7001690

U-JOINT

11

CONE, U-JOINT NSS - Order Ref. 23

12

7001692

BEARING

13

SCREW NSS - Order Ref. 23

14

CONE NSS - outer - Order Ref. 23

15

CONE NSS - inner - Order Ref. 23

16

CONE, U-JOINT NSS - inner - Order Ref. 23 - Was 7001696 - D

17

7001697

BEARING

18

7001700

CHAIN, SAFETY

19

7001702

DECAL, DANGER

20

7001703

DECAL, DANGER

21

7001704

MANUAL driveline instruction

22

KIT, COLLAR NSS - Order Ref. 2

23

7008578

SHIELD, ASSY W/Ref. 11-19, 19 & 21

Выбрано товаров: 23