Запчасти Bobcat SPRAYER SPRAYER (Tank & Mounts) (50 gal 0059) Loader

Схема запчастей Bobcat SPRAYER - SPRAYER (Tank & Mounts) (50 gal 0059) Loader
FIT
1:1
100%

Артикул

Название

Примечание

Количество

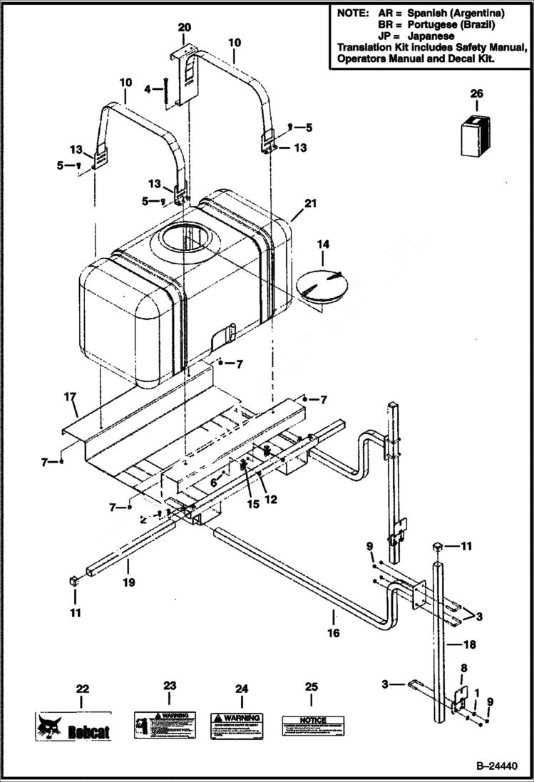
1

25E15

WASHER

2

13G620

SET SCREW Was 13G612 - A

3

6685672

U-BOLT

4

17C680

BOLT

5

17C620

BOLT

6

50D10

LOCKNUT

7

59D6

NUT

8

6685683

PLATE

9

59D5

NUT 5

10

6686821

STRAP strap only

11

6686822

CAP, END

12

85G1016

SCREW

13

6686823

BRACKET

14

6686824

COVER

15

6686825

CLIP hand gun storage

16

6686826

MOUNT

17

6686827

MOUNT

18

6686828

MOUNT

19

6686829

TUBE

20

6686830

BRACKET

21

6686831

TANK 50 gallon

22

6676601

DECAL logo

23

7105344

DECAL, WARNING

24

7105345

DECAL, WARNING

25

7105346

DECAL, WARNING

26

7106817AR

TRANSLATION KIT

26

7106817BR

TRANSLATION KIT

26

7106829AR

DECAL KIT

26

7106829BR

DECAL KIT

26

7106829JP

DECAL KIT

Выбрано товаров: 30