Качественные детали и логистика
Оригинальные и аналоговые запчасти с доставкой по России, Казахстану и Беларуси
©2022 PartSell ООО "Система" ИНН 2463123282 ОГРН 1212400004838
Центральный офис: г. Красноярск, Академика Киренского, д.87, пом.4
Телефон: 8 (800) 777-65-74 Email: zakaz@partsell.ru
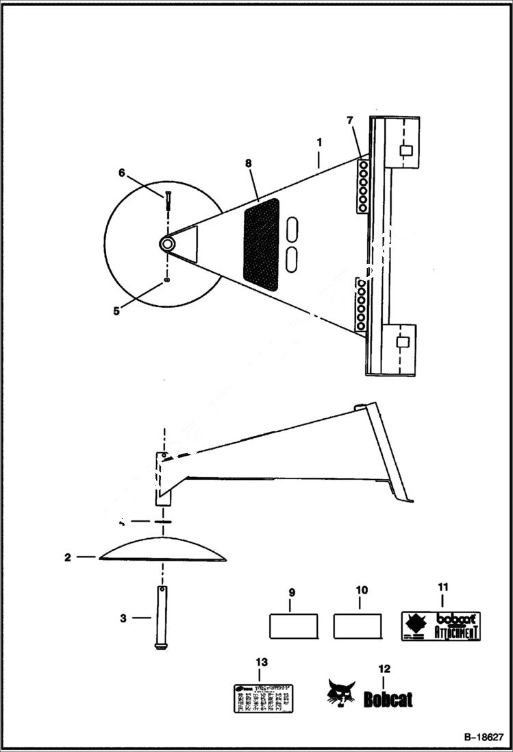
SUPER SCRAPER
№
Артикул
Название
Примечание
Количество
1
6675300
MAIN FRAME
2
6675301
DISC
3
6675302
PIN
4
25E38
WASHER
5
87D8
NUT Was 95D000008B - B
6
17C848
BOLT
7
6569838
STEP
8
6675303
SAFETY TREAD
9
6675304
DECAL operation
10
6675306
DECAL Super Scraper
11
DECAL NLA - Bobcat approved attachment - Was 6675305 - A
12
6727324
DECAL, LOGO BOBCAT AND HEAD
13
DECAL NLA - patent - Was 6557224 - C
Выбрано товаров: 0