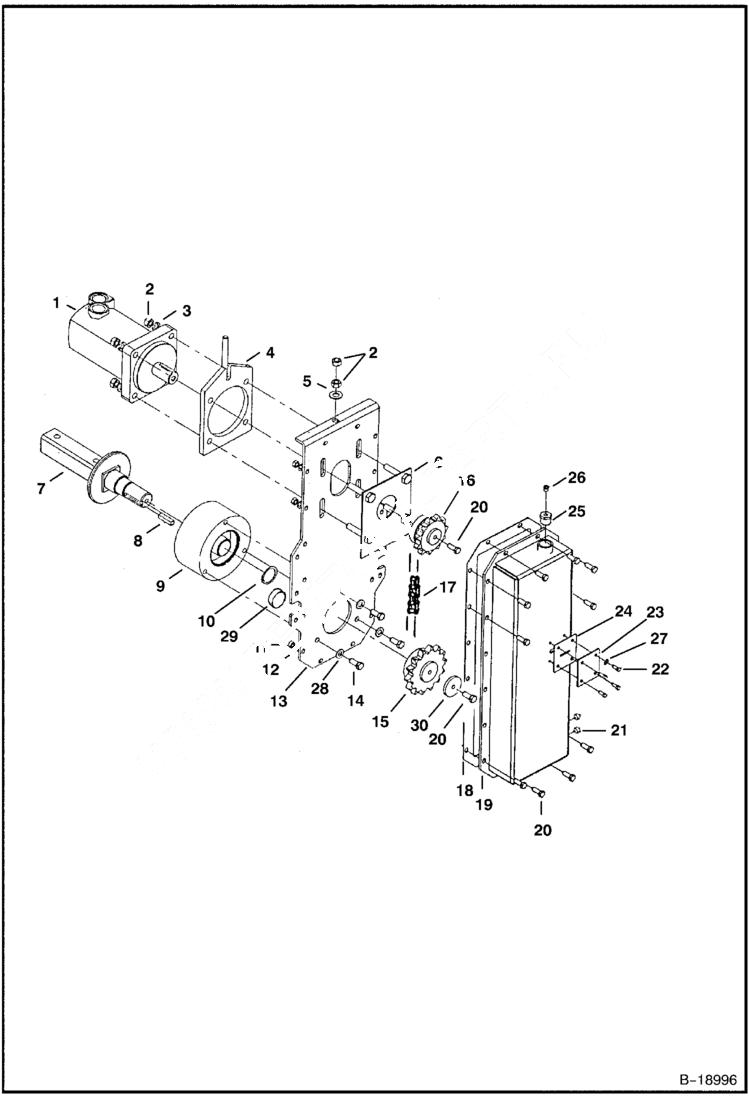
Запчасти Bobcat TILLER TILLER (Chaincase) (463) (500 Series) (38 6144) Loader

Схема запчастей Bobcat TILLER - TILLER (Chaincase) (463) (500 Series) (38 6144) Loader
FIT
1:1
100%

Артикул

Название

Примечание

Количество

1

MOTOR See Illustration TILLER/ B18590

2

61D8

NUT 5

2

85D8

NUT, 5

3

4E8

WASHER

4

6664505

PLATE chain adjustment

5

25E21

WASHER 5

6

6664506

PLATE motor bolt

7

SHAFT NLA - Use W/snap ring - Order 7100890 shaft & Ref. 29 - Was 6664496 - A

7

7100890

SHAFT, DRIVE Use W/Ref. 29

8

7J5108

KEY SQ. 38,1 mm (1.5'') long

8

7J5106

KEY, SQUARE 35 mm (1.38'') long

9

6664497

SEAL

9

6664498

BEARING

9

6664499

HOUSING, BEARING TILLER

10

21J25

SNAP RING Use W/6664496 shaft - Was 6665241 - A

11

61D6

NUT 5

11

85D6

NUT, 5

12

4E6

WASHER

13

6664510

MOUNT

14

17C716

BOLT

14

31C716

SCREW

15

SPROCKET NLA - driven - 14 tooth - Order 7100862 sprocket & 7100861 washer - Was 6664502 - A

15

7100862

SPROCKET driven - 14 tooth

16

6906380

SPROCKET drive - 11 tooth

17

6670845

DRIVE CHAIN

17

6510171

LINK

17

6667186

OFFSET LINK

18

6664503

GASKET

19

6664509

COVER

20

17C616

BOLT 5

21

6664508

PLUG

22

17C408

BOLT

22

84G2508

BOLT

23

6665096

PLATE

24

6665095

GASKET

25

19F23

FITTING, HYD REDUCER Was 6677392 - A

26

6677391

RELIEF VALVE

27

23E4

WASHER

28

4E7

WASHER

29

7100777

BUSHING Use W/ 7100890

30

7100861

WASHER

Выбрано товаров: 0