Качественные детали и логистика
Оригинальные и аналоговые запчасти с доставкой по России, Казахстану и Беларуси
©2022 PartSell ООО "Система" ИНН 2463123282 ОГРН 1212400004838
Центральный офис: г. Красноярск, Академика Киренского, д.87, пом.4
Телефон: 8 (800) 777-65-74 Email: zakaz@partsell.ru
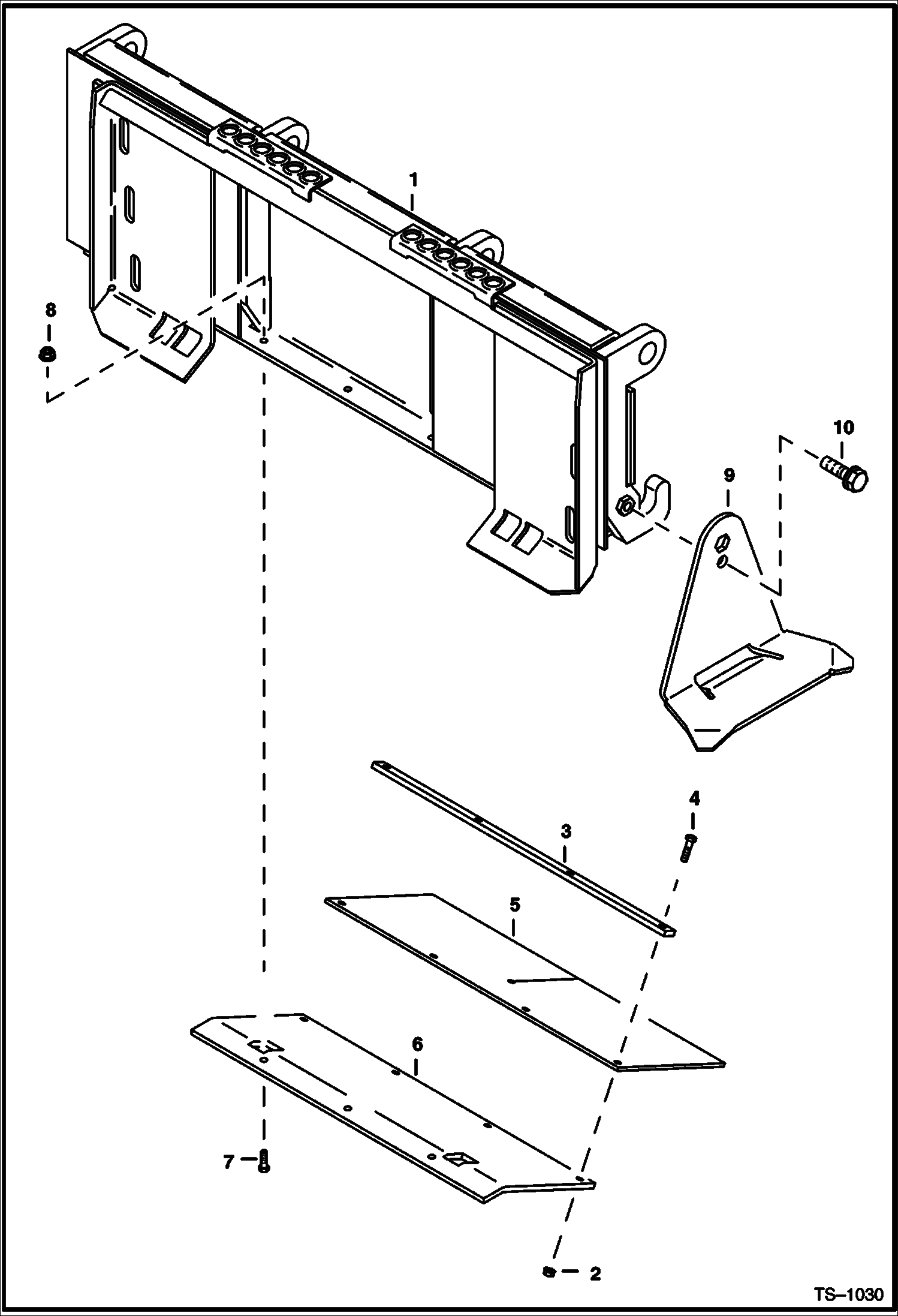
TRENCHER (Mounting Frame) (LT305)
№
Артикул
Название
Примечание
Количество
1
6700989
MOUNT
2
89D6
NUT
3
6701517
SHIELD
4
17C624
BOLT 5
5
6702920
SHIELD rubber - Was 6701516 - A
6
6702919
SHIELD Was 6701515 - A
7
17C820
BOLT
8
89D8
9
PARKING STAND NLA - Was 6665167 - A
10
35C1216
Выбрано товаров: 0