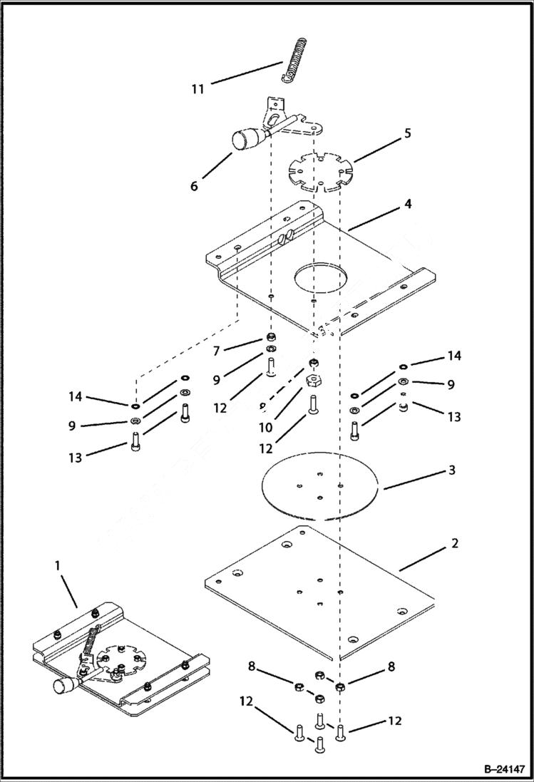
Запчасти Bobcat BL370 SEAT CANOPY

Схема запчастей Bobcat BL370 - SEAT CANOPY
FIT
1:1
100%

Артикул

Название

Примечание

Количество

1

SWIVEL NLA - Ref. 2-17

2

PLATE NLA

3

WASHER NLA

4

PLATE NLA

5

GEAR NLA

6

6969456

LEVER

7

13DM8

NUT

8

1DM8

NUT

9

1EM80

WASHER Was 2EM8 - A

10

NUT NLA

11

6969457

SPRING

12

25GM825

BOLT

13

1GM820

BOLT

14

10EM80

WASHER

Выбрано товаров: 14