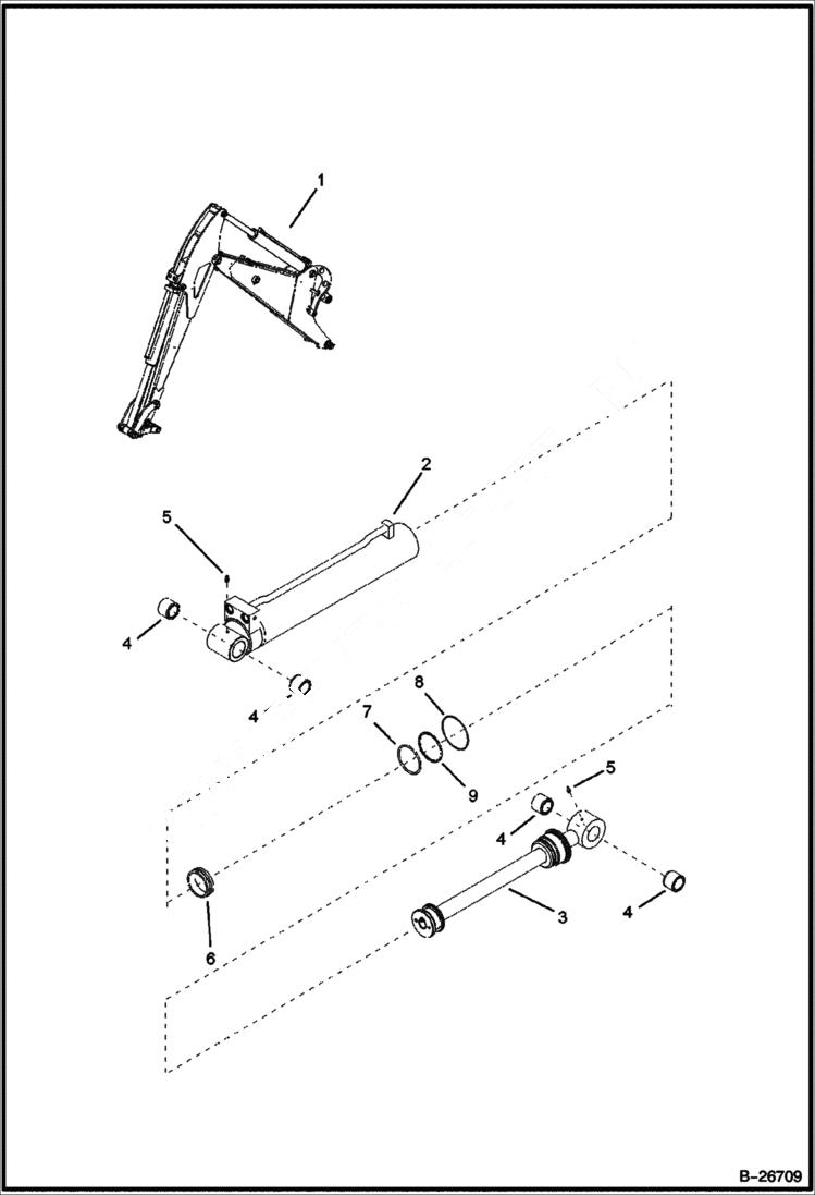
Запчасти Bobcat BL470 ARM CYLINDER (BL475) 5719 11003 & Above Side Shift HYDRAULIC SYSTEM

Схема запчастей Bobcat BL470 - ARM CYLINDER (BL475) 5719 11003 & Above Side Shift HYDRAULIC SYSTEM
FIT
1:1
100%

Артикул

Название

Примечание

Количество

1

6962681

HYDRAULIC CYLINDER PR80X50X710 ASSY W/Ref 2-9

2

6968609

ARM

3

6968612

SHAFT

4

6960936

BUSHING

5

6962268

GREASE FITTING

6

6960583

SEAL

7

6960585

O-RING

8

6960587

O-RING

9

6960586

BACK-UP RING

Выбрано товаров: 9