Качественные детали и логистика
Оригинальные и аналоговые запчасти с доставкой по России, Казахстану и Беларуси
©2022 PartSell ООО "Система" ИНН 2463123282 ОГРН 1212400004838
Центральный офис: г. Красноярск, Академика Киренского, д.87, пом.4
Телефон: 8 (800) 777-65-74 Email: zakaz@partsell.ru
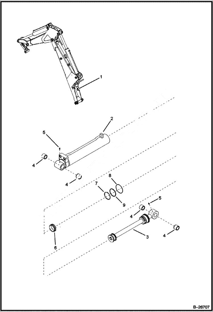
BOOM CYLINDER (BL475) 5719 11003 & Aboce Side Shift
№
Артикул
Название
Примечание
Количество
1
6962682
HYDRAULIC CYLINDER PR80X50X785 ASSY W/Ref 2-9
2
6968622
CYLINDER
3
6968626
ROD
4
6961841
BUSHING
5
6962268
GREASE FITTING
6
6960583
SEAL
7
6960585
O-RING
8
6960587
9
6960586
BACK-UP RING
Выбрано товаров: 0