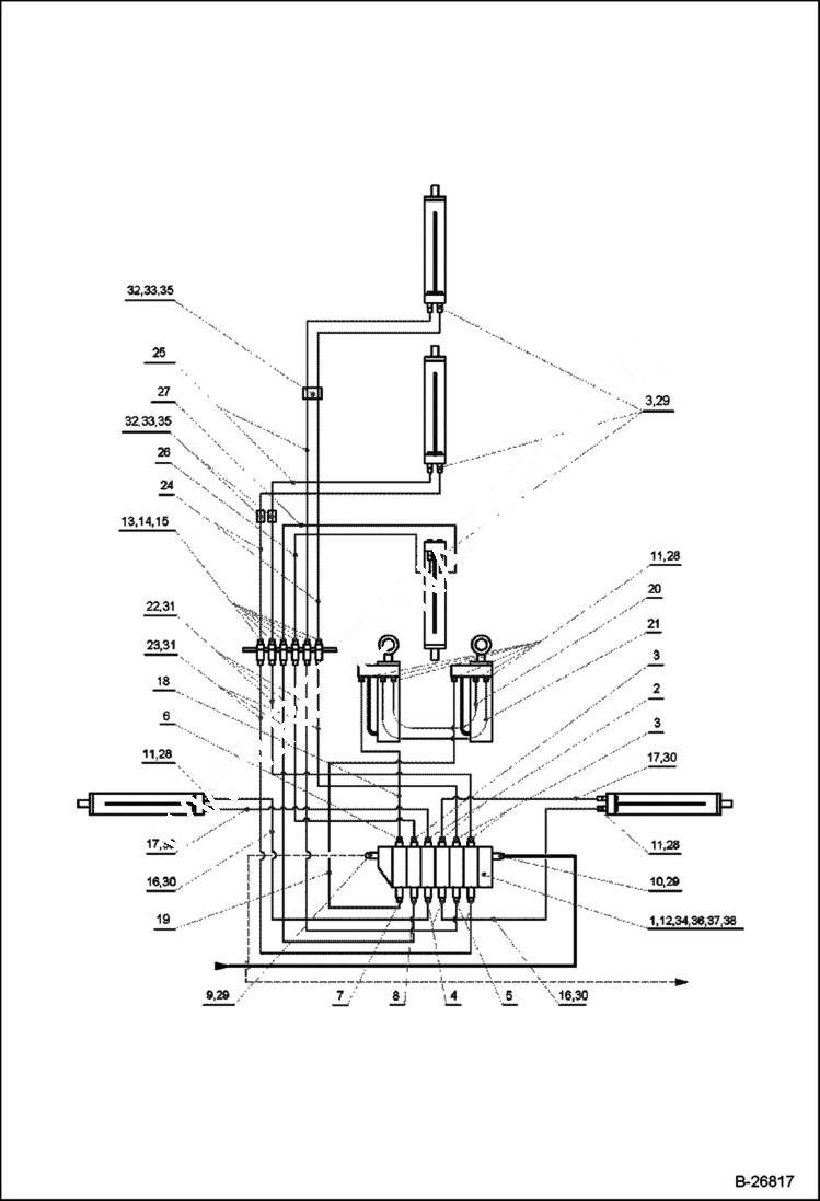
Запчасти Bobcat BL575 HYDRAULIC CIRCUITRY Backhoe HYDRAULIC SYSTEM

Схема запчастей Bobcat BL575 - HYDRAULIC CIRCUITRY Backhoe HYDRAULIC SYSTEM
FIT
1:1
100%

Артикул

Название

Примечание

Количество

1

6962694

VALVE

2

6960720

FITTING

3

6960702

FITTING

4

6960735

FITTING

5

6960706

FITTING

6

6965863

FITTING

7

6965864

FITTING

8

6961867

FITTING

9

6961745

FITTING

10

6960654

FITTING

11

6960704

FITTING

12

6960738

CONTROL VALVE

13

6961850

FITTING

14

6964564

NUT

15

6964577

WASHER

16

6962376

HOSE

17

6962377

HOSE

18

6964789

HOSE

19

6962379

HOSE

20

6962380

HOSE

21

6962381

HOSE

22

6964790

HOSE

23

6964791

HOSE

24

6962384

HOSE

25

6962385

HOSE

26

6962386

HOSE

27

6962387

HOSE

28

6962101

SEAL

29

6962813

CU RING

30

6962388

HOSE 850mm

31

6961029

COVER 600mm

32

6961809

HOLDER

33

6961810

PLATE

34

1CM835

BOLT

35

4CM840

BOLT

36

6962819

WASHER

36

6962819

WASHER

37

16DM8

NUT

38

6960754

KNOB

Выбрано товаров: 39