Качественные детали и логистика
Оригинальные и аналоговые запчасти с доставкой по России, Казахстану и Беларуси
©2022 PartSell ООО "Система" ИНН 2463123282 ОГРН 1212400004838
Центральный офис: г. Красноярск, Академика Киренского, д.87, пом.4
Телефон: 8 (800) 777-65-74 Email: zakaz@partsell.ru
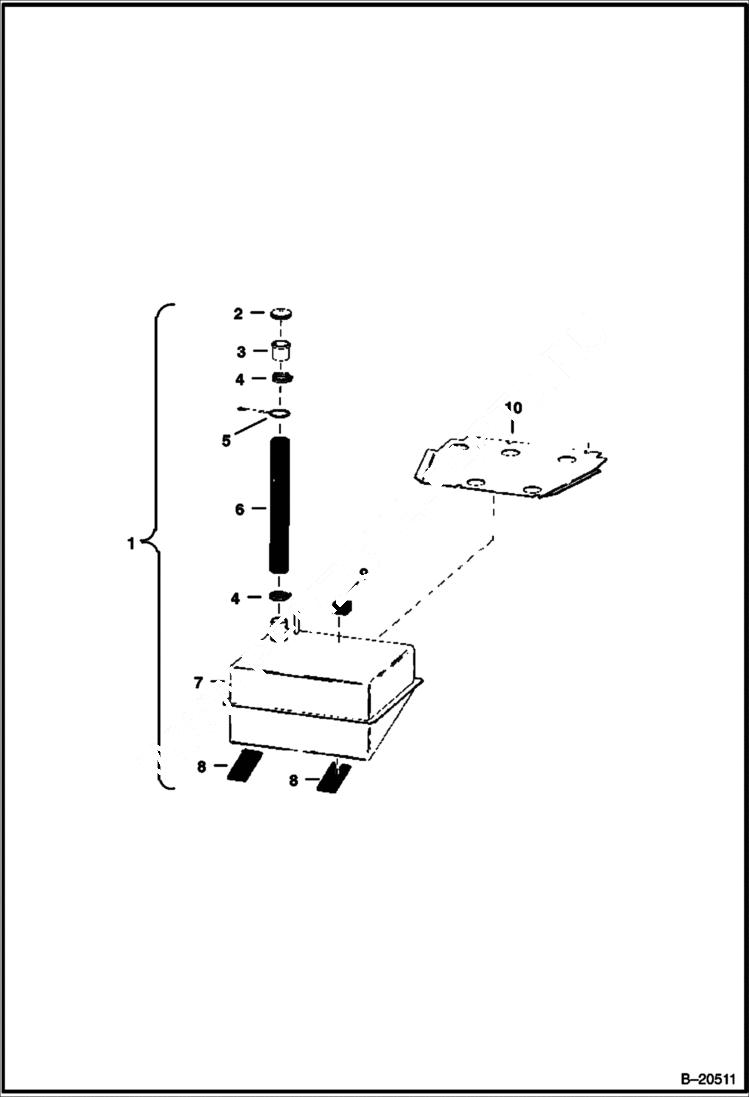
FUEL TANK ASSEMBLY
№
Артикул
Название
Примечание
Количество
1
TANK ASSY. NLA
2
6515567
CAP gasoline - Was 941101B - A
3
TUBE NLA - filler tube - Was 6515569 - A
4
42H32
HS CLAMP5
5
CLAMP NLA - filler tube - Was 6508761 - A
6
6590507
HOSE filler
7
6500958
FUEL TANK
8
6506099
STRAP rubber
9
6500326
BLOCK rubber
10
COVER NLA - tank - Was 6508651 - A
Выбрано товаров: 0