Качественные детали и логистика
Оригинальные и аналоговые запчасти с доставкой по России, Казахстану и Беларуси
©2022 PartSell ООО "Система" ИНН 2463123282 ОГРН 1212400004838
Центральный офис: г. Красноярск, Академика Киренского, д.87, пом.4
Телефон: 8 (800) 777-65-74 Email: zakaz@partsell.ru
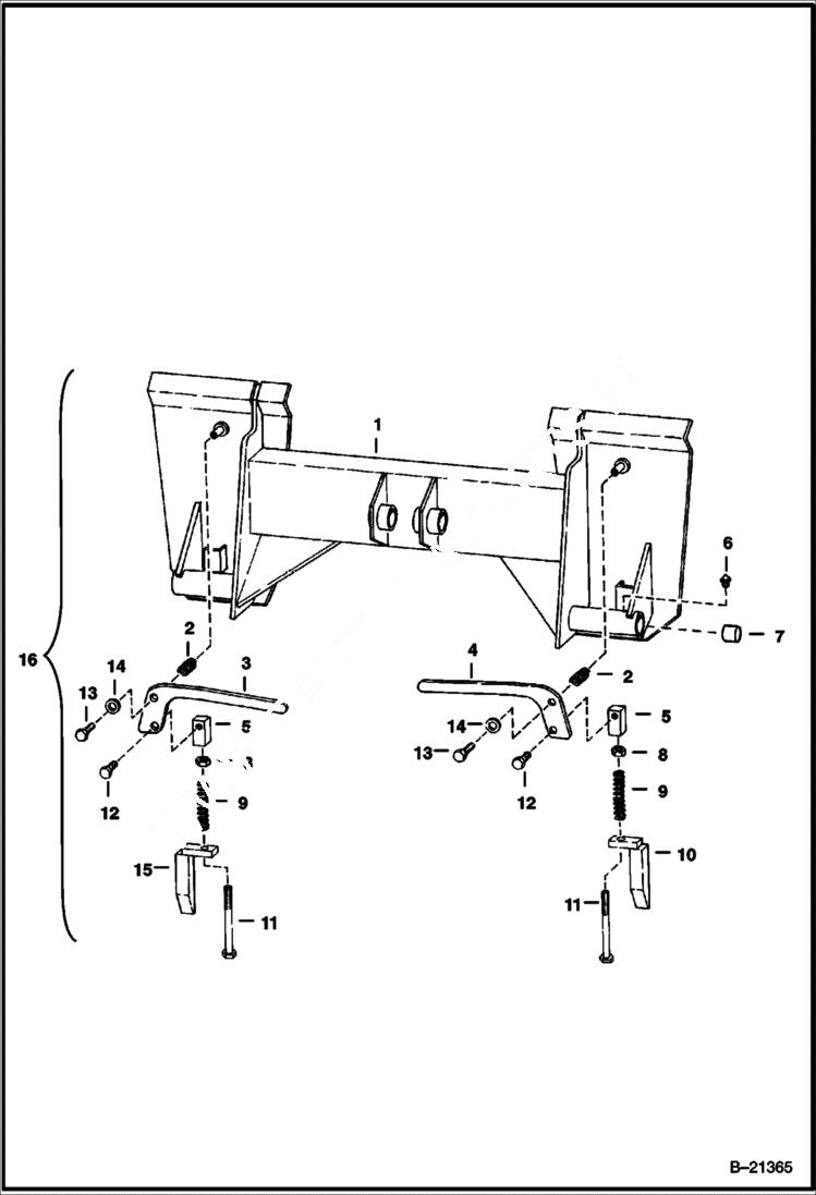
BOB-TACH S/N 12347 & Below
№
Артикул
Название
Примечание
Количество
1
FRAME NLA
2
6704453
SPRING Was 6503387 - A
3
6554265
LEVER L.H.
4
6554264
LEVER R.H.
5
6553842
BLOCK
6
36H25
FITTING
7
6554294
BUSHING
8
7D8
NUT 5
9
6548407
SPRING
10
6548913
WEDGE R.H.
11
17C896
BOLT
12
38C810
BOLT shoulder - Was 661846B - A
13
17C608
14
25E17
WASHER 5
15
6548912
WEDGE L.H.
16
BOB-TACH See Illustration DECALS/ E1163 See BTI288 NLA - ALSO ORDER 6561383 DECAL
Выбрано товаров: 0