Качественные детали и логистика
Оригинальные и аналоговые запчасти с доставкой по России, Казахстану и Беларуси
©2022 PartSell ООО "Система" ИНН 2463123282 ОГРН 1212400004838
Центральный офис: г. Красноярск, Академика Киренского, д.87, пом.4
Телефон: 8 (800) 777-65-74 Email: zakaz@partsell.ru
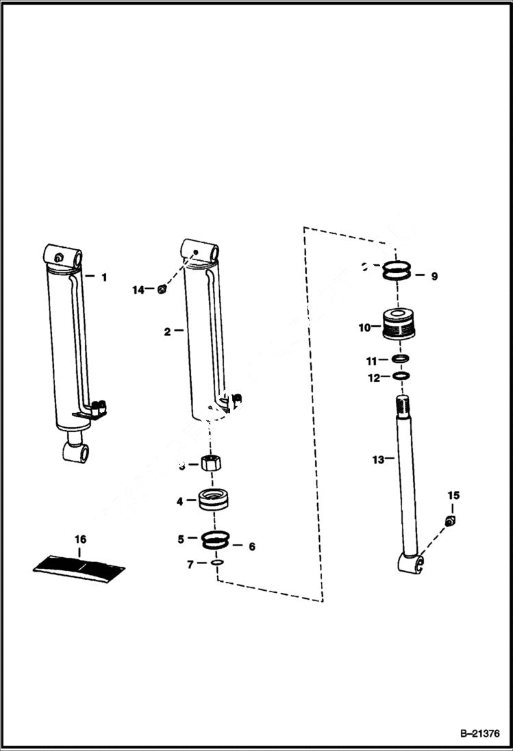
TILT CYLINDER
№
Артикул
Название
Примечание
Количество
1
CYLINDER See BTI167 NLA - ORDER 6589331 CYLINDER - WAS 6553161 - A
2
CASE NLA - Order 6589331 Cylinder - Was 6592038 - A
3
62D18
NUT
4
6803870
PISTON Was 6553912 - A
5
O-RING NSS
6
SEAL NSS
7
8
9
WASHER NSS - back-up
10
6588912
HEAD Was 6531649 - A
11
12
13
6553913
ROD See BTI167 Was 6592897 - A
14
10H35
FITTING, GREASE 10
15
11H25
FITTING10
16
6589798
SEAL KIT Ref. 5-9, 11 & 12-Was 6587989 - A
Выбрано товаров: 0