Качественные детали и логистика
Оригинальные и аналоговые запчасти с доставкой по России, Казахстану и Беларуси
©2022 PartSell ООО "Система" ИНН 2463123282 ОГРН 1212400004838
Центральный офис: г. Красноярск, Академика Киренского, д.87, пом.4
Телефон: 8 (800) 777-65-74 Email: zakaz@partsell.ru
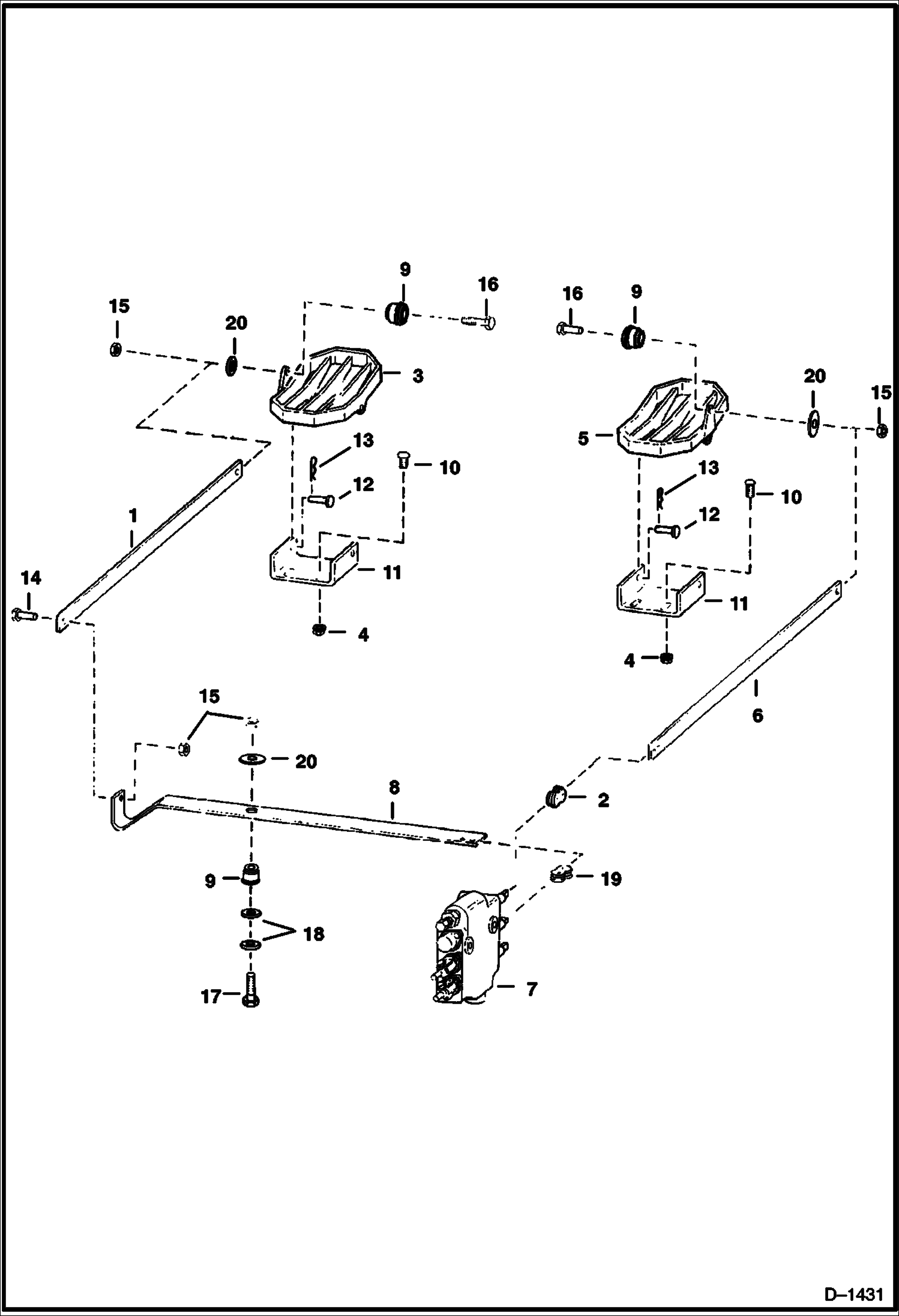
CONTROL PEDALS
№
Артикул
Название
Примечание
Количество
1
6563146
BAR
2
6515186
CONNECTOR
3
7115219
PEDAL Was 6558451 - B
4
57D6
NUT 5
5
6558453
PEDAL
6
6563147
7
6562031
VALVE See Illustration HYDRAULIC VALVE/ C2012
8
6558456
LEVER
9
6665701
BUSHING, PRESS FIT See BTI228 Was 6630081 - A
10
6704349
BOLT Was 6514537 - A
11
6558447
BRACKET
12
1737762
PIN
13
1306637
CLIP
14
17C616
BOLT 5
15
85D6
NUT, 5
16
17C624
17
6565067
BOLT Was 1304938B - A
18
25E17
WASHER 5
19
6558077
LINK
20
6563914
WASHER
Выбрано товаров: 0