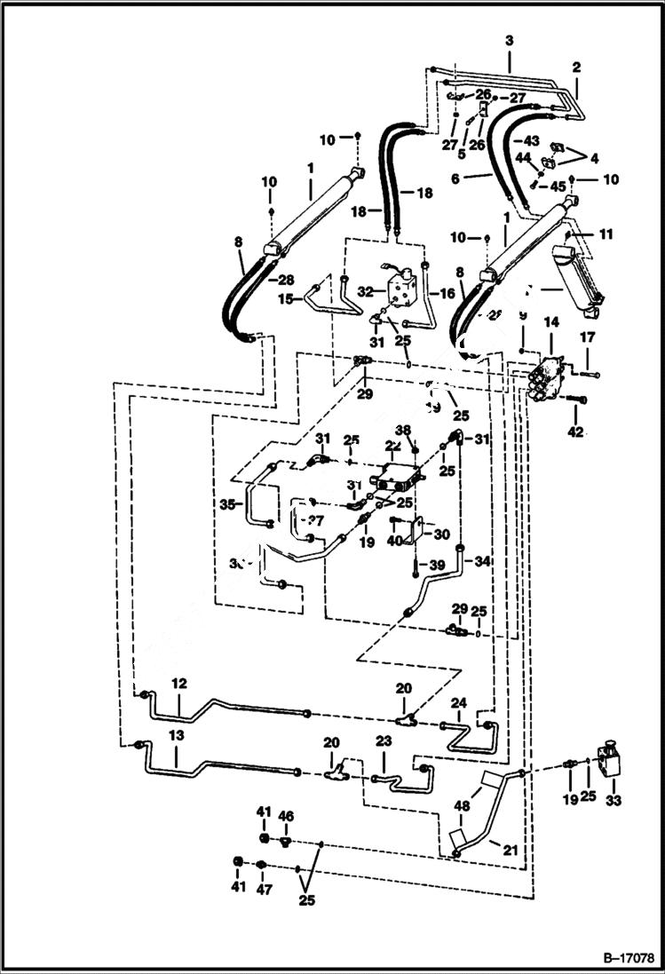
Запчасти Bobcat 500s HYDRAULIC CIRCUITRY (With Bucket Positioning Valve) HYDRAULIC SYSTEM

Схема запчастей Bobcat 500s - HYDRAULIC CIRCUITRY (With Bucket Positioning Valve) HYDRAULIC SYSTEM
FIT
1:1
100%

Артикул

Название

Примечание

Количество

1

CYLINDER See Illustration LIFT CYLINDER/ TS1097 lift

2

6713167

TUBE

3

6713168

TUBE

4

6701892

CLAMP Was 6553422 - B

5

84G3720

BOLT

6

6534349

HOSE Was 6713354 - A

7

CYLINDER See Illustration TILT CYLINDER/ TS1437 tilt

8

6553244

HOSE

9

91D5

NUT 5

10

11H15

GREASE FITTING

11

10H25

FITTING, GREASE 5

12

6715473

TUBE Was 6715475 - D

13

6715472

TUBE Was 6715474 - D

13

6729881

TUBE

14

VALVE See Illustration HYDRAULIC CONTROL VALVE/ E2310 hydraulic

15

6708176

TUBE

16

6715822

TUBE Was 6708175 - A

17

17C540

BOLT

18

6715571

HOSE

19

6715184

ADAPTER W/Ref. 25 - tapered boss face

19

97K8

O-RING flared end

20

10K6

FITTING

20

10K6

FITTING with o-rings - Was 10KN00006B - A

20

97K8

O-RING for flared ends

21

6708173

TUBE

21

6730970

TUBE available only as an assembly W/two danger decals installed

21

6809511

DECAL, DANGER

22

VALVE NLA - Order 6673959 valve - If loader is not equipped with an on/off switch, also order 6647784 plug, 79K8 O-ring, 6647785 spring & 6647783 load check - Was 6666341 - A

23

6715475

TUBE Was 6715473 - D

24

6715474

TUBE Was 6715472 - D

25

79K10

O RING 10 for flat boss face

25

99K10

O'RING for tapered boss face

26

6502203

CLAMP

27

95D6

NUT Was 91D000006B - A

28

6708464

HOSE

29

TEE NLA - W/Ref. 25 - tapered boss face - Was 6715187 - A

29

97K8

O-RING flared end

29

21KB0810

FITTING, HYD TEE W/Ref. 25 - flat boss face

30

6708163

MOUNT

31

784568

ELBOW flat boss face

31

ELBOW NLA - flat boss face - W/Ref. 25 - Was 6715716 - A

31

97K8

O-RING flared end

31

17KB0810

FITTING, HYD ELBOW W/Ref. 25 - flat boss face

32

6664849

VALVE See Illustration TILT LOCK VALVE/ B17427 tilt lock

33

6664850

VALVE See Illustration LIFT LOCK VALVE/ B17428 lift lock

34

6708164

TUBELINE

35

6708165

TUBELINE

36

6708166

TUBELINE

37

6708167

TUBELINE

38

57D5

NUT

39

17C540

BOLT

40

84G3716

SCREW 5

41

36K6

CAP

42

17C532

BOLT 5

43

6713390

HOSE

44

872229

WASHER

45

84G3728

BOLT

46

6715184

ADAPTER straight - .75'' threads to tubeline

46

6731481

TEE W/.88'' threads to tubeline

47

6715184

ADAPTER W/.75'' threads to tubeline

47

15KB1010

FITTING, HYD CONNECTOR W/.88'' threads to tubeline - Was 15KV00007B - A

48

6809511

DECAL, DANGER included W/Ref. 21

Выбрано товаров: 62